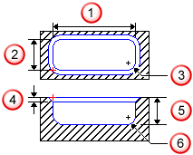
Verwenden Sie das Feature Rechtecktasche, um eine rechteckige Tasche zu erstellen.

- Länge
- Breite
- Eckenradius
— Fase
— Tiefe
— Bodenradius
Geben Sie dazu den Taschendurchmesser in die Felder für die Länge und Breite ein und den Taschenradius (die Hälfte des Taschendurchmessers) im Feld Eckenradius ein.