Fügen Sie einzelnen Legendenkomponenten Bemaßungen hinzu, um sie aussagekräftiger zu gestalten.
Sie können Bemaßungen zu einzelnen Legendenkomponenten mit dem Werkzeug Bemaßung hinzufügen.
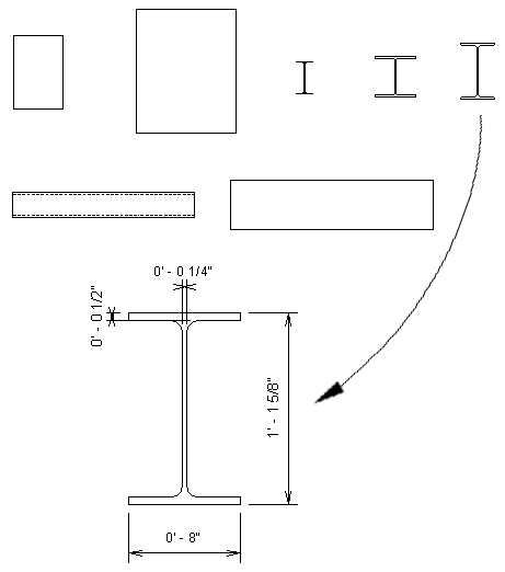
Die meisten Linien können innerhalb einer Legendenkomponente bemaßt werden. Dies ist jedoch nicht für Basisbauteile wie Wände, Decken und Geschossdecken möglich. Genauso wenig ist es möglich, Systemfamilienbauteile innerhalb einer Legende zu bemaßen.


