Rohrsysteme werden in Ansichten auf dieselbe Weise und mithilfe derselben Werkzeuge gezeichnet wie in Draufsichten. Da Sie das Layout jedoch aus einer anderen Perspektive sehen, können die Ergebnisse anders als erwartet ausfallen. Rohre werden in Ansichten relativ zur Ebene der Ansicht gezeichnet. Wenn Sie in einer Ansicht zeichnen, lassen Sie daher eine 3D-Ansicht oder Draufsicht geöffnet, um die Ergebnisse Ihrer Arbeitsschritte verfolgen zu können. Beachten Sie unter anderem:
Das neue Rohr wird mit dem der Ansichtsebene für die Ansicht (d. h. dem Vordergrund) am nächsten liegenden verfügbaren Anschlussstück verbunden. Verfügbar ist ein Anschlussstück, das noch nicht mit einem anderen Anschlussstück verbunden ist und sich innerhalb der Grenzen der Ansicht befindet. (Die einzige Begrenzung einer Ansicht ist die Ansichtsebene im Vordergrund.)
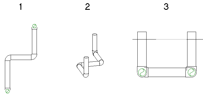
Im folgenden Beispiel sind beide Anschlussstücke am vorhandenen Rohr (1) verfügbar. Das in der Ansicht hinzugefügte horizontale Segment (2) wird mit dem Anschlussstück verbunden, das der Ansichtsebene am nächsten liegt, wie in der Draufsicht zu erkennen (3).

Zwei Anschlussstücke im Ansichtsbereich
Ist nur ein verfügbares Anschlussstück im Ansichtsbereich vorhanden, wird dieses Anschlussstück verwendet. Im folgenden Beispiel wird das der Ansichtsebene am nächsten liegende Anschlussstück bereits verwendet (1). Wenn das neue Rohr in der Ansicht hinzugefügt wird (2), wird es am entfernten Ende des vorhandenen Luftkanalsystems eingefügt (3), wobei das einzige verfügbare Anschlussstück verwendet wird.

Nur ein Anschlussstück im Ansichtsbereich verfügbar
Wenn sich keine verfügbaren Anschlussstücke im Ansichtsbereich befinden, wird das neue Rohr über ein T-Stück am Schnittpunkt der Ansichtsebene und des Segments verbunden. Die Achse des Rohrs wird exakt über der Ansichtsebene platziert.
Im folgenden Beispiel werden zwei vertikale Rohrsegmente in einer Ansicht einem Rohrsystem hinzugefügt. Das ursprüngliche Rohrsystem wird in einer Draufsicht (1), in der dazugehörigen 3D-Ansicht (2) und in der Südansicht (3) gezeigt.

Die resultierenden vertikalen Segmente werden wie folgt (von links nach rechts) in der Draufsicht (1), in der 3D-Ansicht (2) und in der Südansicht (3) angezeigt.


In diesem Fall fügt Revit beim Zeichnen des Rohrs in der Südansicht (1) ein kurzes Rohrsegment zwischen dem Anschlussstück am Heizkessel und dem Bogen ein, wie hier in der Draufsicht (2) und in der 3D-Ansicht (3) gezeigt.
