Verwenden Sie zum Zeichnen von Luftkanalsystemen in Ansichten und Schnittansichten dieselben Werkzeuge und Methoden wie in Draufsichten.
Da Sie das Layout jedoch aus einer anderen Perspektive sehen, können die Ergebnisse anders als erwartet ausfallen. Luftkanalsysteme werden in Ansichten oder Schnittansichten relativ zur Ebene der Ansicht bzw. Schnittansicht gezeichnet. Wenn Sie in einer Ansicht oder Schnittansicht zeichnen, lassen Sie daher eine 3D-Ansicht oder Draufsicht geöffnet, um die Ergebnisse Ihrer Arbeitsschritte verfolgen zu können. Beachten Sie unter anderem:
Gruppe Platzierungswerkzeuge 
Dimension übernehmen, um die Dimension des bestehenden Luftkanalsystems zu übernehmen. Die folgenden Beispiele zeigen die Ausrichtung eines Luftkanalsystems, das in Ansichten bzw. Schnittansichten hinzugefügt wird. In diesen Beispielen haben alle vorhandenen Segmenten die Maße 12" W x 8" H.
Im ersten Beispiel wird ein horizontaler Luftkanal mit den Maßen 12'' W x 8" H in einer Draufsicht gezeigt.


In der Ansicht wird der Luftkanal einem horizontalen Luftkanal hinzugefügt. In der Vorschau des Luftkanals ist dieser/s so ausgerichtet, dass die 12"-Seite (W) von oben nach unten angezeigt wird.

Das resultierende Luftkanalsystem wird unten in der Ansicht (1), Draufsicht (2) und 3D-Ansicht (3) gezeigt. Das Luftkanalsystem enthält einen Übergang zwischen dem Bogen und dem neuen Luftkanalsegment.


Beim Zeichnen des neuen Luftkanals nach oben oder unten ausgehend von dem Luftkanal aus dem vorherigen Beispiel braucht kein Übergang angezeigt zu werden. Die Breite und Höhe werden relativ zur Ansicht angezeigt.

Wenn Sie in einer Ansicht eine Verbindung zu einem vorhandenen Luftkanal herstellen, müssen Sie u. U. in der Optionsleiste die Breite und Höhe angeben, um das gewünschte Ergebnis zu erzielen.
Der neue Luftkanal wird mit dem der Ansichtsebene für die Ansicht (d. h. dem Vordergrund) am nächsten liegenden verfügbaren Anschlussstück verbunden. Verfügbar ist ein Anschlussstück, das noch nicht mit einem anderen Anschlussstück verbunden ist und sich innerhalb der Grenzen der Ansicht befindet. (Die einzige Begrenzung einer Ansicht ist die Ansichtsebene im Vordergrund.)
Im folgenden Beispiel sind beide Anschlussstücke an dem vorhandenen Luftkanal (1) verfügbar. Das in der Ansicht hinzugefügte horizontale Segment (2) wird mit dem Anschlussstück verbunden, das der Ansichtsebene am nächsten liegt, wie in der Draufsicht zu erkennen (3).

Zwei Anschlussstücke im Ansichtsbereich

Beide Anschlussstücke im Ansichtsbereich
Ist nur ein verfügbares Anschlussstück im Ansichtsbereich vorhanden, wird diese Verbindung verwendet. Im folgenden Beispiel wird das der Ansichtsebene am nächsten liegende Anschlussstück bereits verwendet (1). Wenn der neue Luftkanal der Ansicht hinzugefügt wird (2), wird er am entfernten Ende des vorhandenen Luftkanalsystems eingefügt (3), wobei das einzige verfügbare Anschlussstück verwendet wird.

Nur ein Anschlussstück im Ansichtsbereich verfügbar

Nur ein Anschlussstück im Ansichtsbereich
Wenn sich keine verfügbaren Anschlussstücke im Ansichtsbereich befinden, wird der Luftkanal über ein T-Stück am Schnittpunkt der Ansichtsebene und des Segments verbunden. Die Achse des Luftkanals wird exakt über der Ansichtsebene platziert.
Wenn sich keine verfügbaren Anschlüsse im Ansichtsbereich befinden, wie in der Draufsicht (1) gezeigt, wird der neue Luftkanal (in der Ansicht hinzugefügt (2)) über ein T-Stück am Schnittpunkt der Ansichtsebene und des vorhandenen Luftkanalsystems verbunden (3). Die Achse des Luftkanals wird exakt über der Ansichtsebene platziert.

Das einzige Anschlussstück innerhalb des Ansichtsbereichs bereits in Verwendung

Zwei Anschlussstücke im Ansichtsbereich, aber eines davon bereits in Verwendung

Alle verfügbaren Anschlussstücke außerhalb des Ansichtsbereichs
Der neue Luftkanal wird mit dem der Ansichtsebene der Schnittansicht (d. h. dem Vordergrund) am nächsten liegenden verfügbaren Anschlussstück verbunden. Verfügbar ist ein Anschlussstück, das noch nicht mit einem anderen Anschlussstück verbunden ist und sich innerhalb der Grenzen der Schnittansicht befindet.
Im folgenden Beispiel sind beide Anschlussstücke am vorhandenen Luftkanal (1) verfügbar. Das in der Schnittansicht hinzugefügte horizontale Segment (2) wird mit dem Anschlussstück verbunden, das der Ansichtsebene am nächsten liegt, wie in der Draufsicht zu erkennen (3).
Ist nur ein Anschlussstück innerhalb des Ansichtsbereichs verfügbar, wird dieses verwendet.
Im folgenden Beispiel liegen beide Enden des vorhandenen Luftkanals innerhalb des Ansichtsbereichs, verfügbar ist jedoch nur eines. Das andere Anschlussstück wird bereits verwendet. Das verfügbare Anschlussstück wird verwendet, obwohl es am weitesten von der Ansichtsebene entfernt ist.
Liegen alle verfügbaren Anschlussstücke außerhalb des Ansichtsbereichs, wird der Luftkanal über ein T-Stück am Schnittpunkt der Ansichtsebene und des bestehenden Luftkanalsystems verbunden. Die Achse des Luftkanals wird exakt über der Ansichtsebene platziert.

Das einzige Anschlussstück liegt im Ansichtsbereich, wird jedoch bereits verwendet

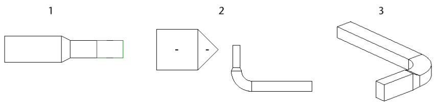
In diesem Fall fügt Revit beim Zeichnen des Luftkanals in der Schnittansicht (1) ein kurzes Luftkanalsegment zwischen dem Anschlussstück am Volumenstromregler und dem Bogen ein, wie hier in der Draufsicht (2) und in der 3D-Ansicht (3) gezeigt.

Im folgenden Beispiel werden zwei vertikale Luftkanalsegmente in einer Ansicht einem Luftkanalsystem hinzugefügt. Das ursprüngliche Luftkanalsystem wird in einer Draufsicht (1), in der dazugehörigen 3D-Ansicht (2) und in der Südansicht (3) gezeigt.

Die resultierenden vertikalen Segmente werden wie folgt (von links nach rechts) in der Draufsicht (1), in der 3D-Ansicht (2) und in der Südansicht (3) angezeigt.


In diesem Fall fügt Revit beim Zeichnen des Luftkanals in der Südansicht (1) ein kurzes Luftkanalsegment zwischen dem Anschlussstück am Volumenstromregler und dem Bogen ein, wie hier in der Draufsicht (2) und in der 3D-Ansicht (3) gezeigt.

Im folgenden Beispielprojekt sollen Luftkanäle hinzugefügt werden, die die Segmente auf Ebene 1 mit denen auf Ebene 2 verbinden.

In der Schnittansicht scheinen die Luftkanäle auf Ebene 2 über denen auf Ebene 1 zu liegen und an ihnen ausgerichtet zu sein. Mithilfe des Werkzeugs Luftkanal können Sie einen vertikal aufsteigenden Luftkanal vom Volumenstromregler auf Ebene 1 zum bestehenden Luftkanalsystem auf Ebene 2 zeichnen.
Es werden Luftkanäle vom Anschlussstück des Luftkanals am Volumenstromregler auf Ebene 1 dem horizontalen Luftkanalsystem auf Ebene 2 hinzugefügt.

Die 3D-Ansicht zeigt, wie die Luftkanäle im realen Modell erstellt werden. Das resultierende Luftkanalsystem wird mit einem vertikalen und einem horizontalen Segment gezeichnet, um eine Verbindung mit dem Luftkanalsystem auf Ebene 2 herzustellen. Das horizontale Segment wird im rechten Winkel zur Schnittansichtsebene hinzugefügt
