La boîte de dialogue sert à définir automatiquement les excentrements pour les barres de la structure. L'excentrement est défini par le désaxage de la barre jusqu'aux dimensions maximales de la section. Ouvrez la boîte de dialogue en cliquant sur Position de la section (ou Désaxage) dans la boîte de dialogue Nouveau décalage.

Dans cette boîte de dialogue, vous pouvez définir le décalage de l'axe longitudinal d'une barre par rapport aux dimensions transversales de la section. La sélection de la position de l'axe se fait par un clic sur la case d'option voulue disponible sur le schéma de la section. Au dessous du schéma de la section, le logiciel affiche la description de la position de la section de la barre, c'est-à-dire Position et caractéristiques de la position de la section qui est la valeur du désaxage dans le repère local :
Après un clic sur le bouton OK, le texte décrivant le désaxage apparaît également dans la boîte de dialogue Nouvel excentrement.
Un exemple d'une définition automatique de décalage et les résultats de son attribution à une barre de structure est illustré dans l'image suivante.
Le décalage automatique a été affecté à la barre 2.
L'excentrement relatif est disponible uniquement après la sélection de l'excentrement dans le repère local (option locale). Vous pouvez composer les deux définitions de l'excentrement dans le repère local et, à la suite, obtenir le désaxage contenant la valeur numérique et relative. Par contre, vous ne pouvez pas composer l'excentrement relatif avec celui défini dans le repère global. Si vous sélectionnez l'option globale, le bouton Position de la section… n'est pas disponible. L'option globale n'est disponible que si vous avez sélectionné la position neutre par rapport à l'axe de la section (sans désaxage) pour la définition de l'option locale.
Pour les structures planes, certaines positions de l'excentrement ne sont pas disponibles.
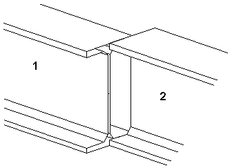
Pour les structures 3D, le sens des axes du repère local dépend de la position et du sens d'un élément barre ; par conséquent, un même décalage défini dans un repère local peut donner un effet différent dans le repère global. Cet effet est illustré dans l'image suivante. Deux barres parallèles ont différents sens (l'origine de la barre a le numéro "1" et l'extrémité, le numéro "2"). En effet, le même excentrement d'une valeur Vpy (la mi-largeur de la section) dans le repère local provoque le désaxage opposé de la section dans le repère global.

Rubrique connexe :