Les méthodes et les outils employés pour dessiner des gaines dans des vues d'élévation et en coupe sont identiques à ceux qui sont utilisés dans les vues en plan.
Toutefois, comme vous observez la présentation selon une perspective différente, vous pouvez obtenir des résultats inattendus. Dans une vue en coupe/d'élévation, les gaines sont dessinées par rapport au plan de la vue. Lorsque vous dessinez des gaines dans une vue d'élévation/en coupe, conservez une vue 3D ou une vue en plan visible afin d'observer l'effet des actions réalisées. Tenez compte des remarques suivantes :
le groupe de fonctions Outils de positionnement
Hériter la taille pour reprendre la taille des gaines existantes. Les exemples suivants présentent l'orientation de gaines ajoutées dans des vues en coupe/d'élévation. Dans ces exemples, tous les segments existants ont pour dimensions 12" L x 8" H.
Dans le premier exemple, une gaine horizontale de 12" L x 8" H s'affiche dans une vue en plan.


Dans la vue d'élévation, une gaine horizontale est ajoutée à la gaine. Dans l'aperçu de la gaine, l'orientation de la nouvelle gaine est telle que sa face (L) de 12" s'affiche en tant que cote haut-bas.

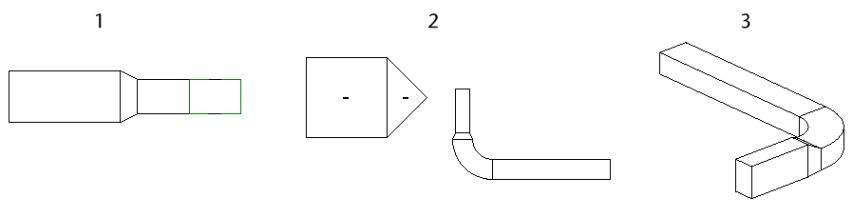
Les gaines obtenues sont présentées ci-dessous dans la vue d'élévation (1), la vue en plan (2) et la vue 3D (3). Les gaines présentent une transition entre le coude et le nouveau segment de gaine.


Si vous dessinez la nouvelle gaine vers le haut (ou vers le bas) à partir de la gaine de l'exemple précédent, l'affichage ne requiert aucune transition. La largeur et la hauteur s'affichent par rapport à la vue d'élévation.

Lorsque vous connectez une gaine à une gaine existante dans une vue d'élévation, il peut s'avérer nécessaire de spécifier la largeur et la hauteur dans la barre des options pour obtenir le résultat souhaité.
La nouvelle gaine se connecte au connecteur disponible le plus proche du plan de la vue d'élévation (au premier plan). Un connecteur est disponible s'il n'est connecté à aucun autre connecteur et qu'il se trouve dans la plage de la vue d'élévation. (La seule limite d'une vue d'élévation est le plan de la vue au premier plan).
Dans l'exemple suivant, les deux connecteurs de la gaine existante (1) sont disponibles. Le segment horizontal ajouté à la vue d'élévation (2) est connecté au connecteur le plus proche du plan de la vue, comme indiqué dans la vue en plan (3).

Deux connecteurs se trouvent dans la plage de la vue.

Les deux connecteurs se trouvent dans la plage de la vue.
Si un seul connecteur est disponible dans la plage de la vue, cette connexion est utilisée. Dans l'exemple suivant, le connecteur le plus proche du plan de la vue est déjà utilisé (1). Lorsque la nouvelle gaine est ajoutée dans la vue d'élévation (2), elle est ajoutée à l'extrémité des gaines existantes (3), à l'aide du seul connecteur disponible.

Un seul connecteur est disponible dans la plage de la vue.

Un seul connecteur se trouve dans la plage de la vue.
Si aucun connecteur n'est disponible dans la plage de la vue, la gaine est connectée à l'aide d'un té, à l'intersection du plan de la vue et du segment. L'axe de la gaine est placé exactement sur le plan de la vue.
Si aucun connecteur n'est disponible dans la plage de la vue, comme dans la vue en plan (1), la nouvelle gaine (ajoutée dans la vue d'élévation (2)) se connecte à l'aide d'un té à l'intersection du plan de la vue d'élévation et des gaines existantes (3). L'axe de la gaine est placé exactement sur le plan de la vue.

Le seul connecteur se trouvant dans la plage de la vue est déjà utilisé.

Deux connecteurs se trouvent dans la plage de la vue, mais un connecteur est déjà utilisé.

Tous les connecteurs disponibles se trouvent hors de la plage de la vue.
La nouvelle gaine se connecte au connecteur disponible le plus proche du plan de la vue en coupe (au premier plan). Un connecteur est disponible s'il n'est connecté à aucun autre connecteur et qu'il se trouve dans la plage de la vue en coupe.
Dans l'exemple suivant, les deux connecteurs d'une gaine existante (1) sont disponibles. Le segment horizontal ajouté à la vue en coupe (2) est connecté au connecteur le plus proche du plan de la vue, comme indiqué dans la vue en plan (3).
Si un seul connecteur est disponible dans la plage de la vue, c'est celui-là qui est employé.
Bien que les deux extrémités de la gaine existante se trouvent dans la plage de la vue dans l'exemple suivant, un seul d'entre eux est disponible. L'autre connecteur est déjà utilisé. Le connecteur disponible est utilisé, bien qu'il soit plus éloigné du plan de la vue.
Si tous les connecteurs disponibles se trouvent hors de la plage de la vue, la gaine se connecte à l'aide d'un té, à l'intersection du plan de la vue et des gaines existantes. L'axe de la gaine se place précisément sur le plan de la vue.

Le seul connecteur se trouvant dans la plage de la vue est déjà utilisé.

Dans ce cas, lorsque la gaine est dessinée dans la vue en coupe (1), Revit ajoute un court segment de gaine entre le connecteur du VAV et le coude, comme indiqué dans la vue en plan (2) et dans la vue 3D (3).

Dans l'exemple suivant, deux segments de gaine verticaux sont ajoutés à des gaines dans une vue d'élévation. La gaine d'origine est présentée dans une vue en plan (1), dans la vue 3D associée (2) et dans la vue d'élévation sud (3).

Les segments verticaux obtenus sont présentés (de droite à gauche) tels qu'ils s'affichent dans la vue en plan (1), dans la vue 3D associée (2) et dans la vue d'élévation sud (3).


Dans ce cas, lorsque la gaine est dessinée dans la vue d'élévation sud (1), Revit ajoute un court segment de gaine entre le connecteur du VAV et le coude, comme indiqué dans la vue en plan (2) et dans la vue 3D (3).

Dans l'exemple de projet suivant, vous souhaitez ajouter des gaines pour connecter les segments du niveau 1 aux gaines du niveau 2.

Dans la vue en coupe, les gaines du niveau 2 semblent alignées au-dessus des gaines de niveau 1. A l'aide de l'outil de gaine, vous pouvez dessiner une contremarche verticale entre les gaines du VAV au niveau 1 et les gaines existantes du niveau 2.
La gaine est ajoutée entre le connecteur des gaines du VAV au niveau 1 et les gaines horizontales au niveau 2.

La vue 3D associée permet d'observer comment les gaines sont réellement créées. Les gaines obtenues comprennent un segment vertical et un segment horizontal qui les connectent aux gaines du niveau 2. Le segment horizontal est ajouté perpendiculairement au plan de la vue en coupe.
