元の 3D モデルを変更しても、モデル ドキュメントの図面ビューを更新するまで、その変更は図面ビューに反映されません。
[自動更新]がオン(システム変数 VIEWUPDATEAUTO = 1)のとき、次の場合に図面ビューは自動的に更新されます。
[自動更新]をオフ(システム変数 VIEWUPDATEAUTO = 0)の場合、図面ビューは自動的に更新されません。更新する必要のある図面ビューは、赤いマーカーでハイライト表示されます。システム トレイのバルーン通知に、モデルが変更されていることを通知するポップアップ表示されます。その後は、最新ではない図面ビューを明示的に更新する必要があります。

元のモデルでの変更内容によっては、図面ビューが拡大または縮小される場合があります。2 つの方法で、ビューを図面内にアンカーできます。

ビューを中心に位置合わせして、ビューの中心を基点として拡大または縮小するように選択することができます。

また、「固定」オプションを選択することもできます。このオプションは、変更されていないモデル ジオメトリが更新操作前と同じ場所に留まるように強制します。多くの場合、位置の変化が少ないことからこのオプションが選択されます。
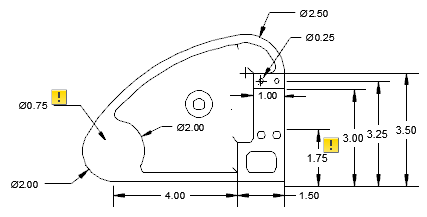
更新イベントにより、注釈がアタッチされているエッジが削除されると、注釈の自動調整が失われます。注釈モニターを使用すると、自動調整が失われた注釈を追跡することができます。
注釈モニターは、注釈の状態を監視するサービスです。更新イベントによって注釈の自動調整が失われると、影響を受ける注釈の数がバルーン通知に示され、注釈モニター トレイ アイコンが
から
に変わります。さらに、注釈モニターは、影響を受ける注釈の近くに警告アイコンを表示します。

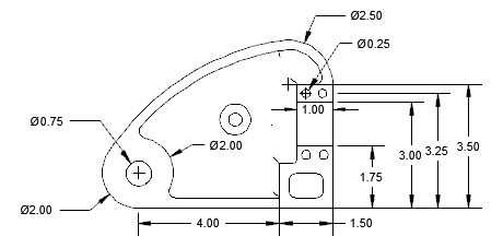
更新イベント前

更新イベント後
バッジをクリックすると、対応する自動調整が解除された注釈に固有のオプションを含むメニューが表示されます。注釈モニターをオフにすると、警告アイコンは表示されなくなります。