概要 - 寸法間の間隔を調整する

図面上の既存の平行な長さ寸法と角度寸法を自動的に調整して、各寸法線を等間隔にしたり、位置を合わせることができます。

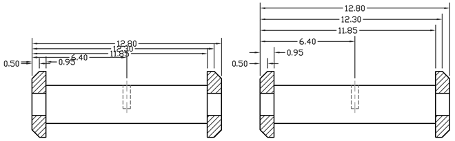
DIMBASELINE[並列寸法記入]コマンドでは、等間隔の寸法を記入するためにシステム変数 DIMDLI[寸法線間隔]を使用しますが、寸法を記入した後にこのシステム変数の値を変更しても、既存の寸法の間隔は変更されません。寸法の寸法値のサイズを変更したり、寸法の尺度を調整した場合でも、その寸法は記入時の元の位置にあるため、寸法線と寸法値が重なってしまうという問題が生じることがあります。

DIMSPACE[寸法線間隔]コマンドを使用すると、長さ寸法または角度寸法が互いに重なっていたり、それらの寸法が等間隔でない場合に、寸法の間隔を調整することができます。選択する寸法は、長さ寸法または角度寸法でなければならず、同じ種類の寸法(回転寸法、平行寸法など)である必要があります。また、互いにそれぞれの寸法補助線に沿って平行または同心円である必要があります。また、間隔の値を 0(ゼロ)にして、長さ寸法および角度寸法の位置を合わせることもできます。

次の図は、間隔が不揃いの平行な長さ寸法と、DIMSPACE コマンドを使用して等間隔にした平行な長さ寸法を示しています。