クラッシュ ルールを設定する

無視するクラッシュ ルールを使用すると、特定のクラッシュ項目の組み合わせを無視することによりクラッシュ結果の数を減らすことができます。Clash Detective ツールには、既定のクラッシュ ルールと、カスタムのクラッシュ ルールを作成するために使用可能なクラッシュ ルール テンプレートが含まれています。

既定のクラッシュ ルール

以下に、組み込まれている無視するクラッシュ ルールを示します。

  • 同一画層上の項目: 同一画層上にあるクラッシュが見つかった項目は、結果に報告されません。これは、Revit ファイル(2014 以降)の同じレベルのクラッシュを無視する場合などに役立ちます。画層またはレベルは、[選択ツリー] アイコンで示されます。
  • 同一グループ/ブロック/セルの項目: AutoCAD のブロック定義や MicroStation のセル定義など、同一グループ(または挿入されたブロック)内にあるクラッシュが見つかった項目は、結果として報告されません。グループ、ブロック、およびセルは、[選択ツリー] アイコンで示されます。
  • 同一ファイル内の項目: 同一ファイル(外部参照または追加されたファイル)内にあるクラッシュが見つかった項目は、結果に報告されません。モデルに複数の CAD ファイルが含まれている場合、このオプションを指定すると、異なるファイル間のクラッシュのみを検索することができます。
  • 同一合成オブジェクト内の項目: 同一複合オブジェクト(一連のジオメトリ項目として表される 1 つの CAD のオブジェクト)の一部であるクラッシュが見つかった項目は、結果に報告されません。合成オブジェクト()は、[選択ツリー]で 1 つのオブジェクトとみなされる一連のジオメトリです。たとえば、窓オブジェクトは窓枠と窓ガラスで構成され、空洞壁は複数の層で構成される場合があります。このルールを使用すると、CAD オブジェクトの自己交差が確実に無視されるようになります。この場合、窓ガラスと窓枠は、パーツが接触または重なり合うようにモデル化されます。このルールは、パーツ間のクラッシュを無視します。
  • 注: [クラッシュ]結果に合成オブジェクトを含めるように選択することができます。「[選択]タブ」を参照してください。
  • 以前に検出された 2 つの合成オブジェクトの項目: テストで以前報告された合成オブジェクトの一部であるクラッシュが見つかった項目は、結果として報告されません。たとえば、クラッシュが合成オブジェクトのペア間で検出された場合、単一のクラッシュとして扱われ、クラッシュは 1 回だけレポートされます。それ以外は無視されます。[同一合成オブジェクト内の項目]は 1 つのオブジェクトのパーツ間のクラッシュを無視します。一方、このオプションは異なる合成オブジェクト間の複数のクラッシュを無視します。これは、誤検出の数を削減するのに役立ちます。この例として、壁を貫通するパイプが挙げられます。このオプションを選択した場合、壁の両側のクラッシュは別々のクラッシュとして考慮されず、1 回のクラッシュとして考慮されます。
  • スナップ点が一致する項目: 一致するスナップ点があるクラッシュが見つかった項目は、結果として報告されません。該当する例として、中心線の端にスナップ点がある配管や継手などが挙げられます。Autodesk Navisworks では、パフォーマンスの向上を図るために、円柱が一連の三角形として描画されます([隠線]モードにすると、どのように描画されているかを確認できます)。面分割係数によっては、完全に円形として描画され、パイプや継手がフィットしている場合でも、一部の三角形が互いにクラッシュする場合があります。

ルール テンプレート

また、ユーザ独自の無視するルールを作成することもできます。既定のクラッシュ ルールのほかに、以下のルール テンプレートが使用できます。

  • 断熱材の厚さ: 指定した断熱材の厚さより大きなクリアランス値があるクラッシュが見つかった項目は、結果に報告されません。このルールは、クリアランス テストで使用する必要があります。

    指定した断熱材の厚さが必要なパイプがある場合、パイプに対してクリアランス テストを実行し、クリアランスの許容差を必要な断熱材の厚さに設定できます。これにより、パイプの周囲に、断熱材を巻くための十分なクリアランスがない領域を特定できます。

    さまざまな種類のパイプがあり、そのすべてに異なる断熱材の厚みが必要である場合、断熱材の厚みごとにクリアランス テストを設定するのではなく、最大の必須許容差を使用する 1 回のテストを設定します。つまり、すべてのパイプに、断熱材の最大の厚みが必要であることを前提としたテストを行います。その後、間違って識別されたクラッシュの実際の断熱材の厚みが、使用される最大クリアランスより小さい場合に、このクラッシュを無視するためにこのルールを適用できます。

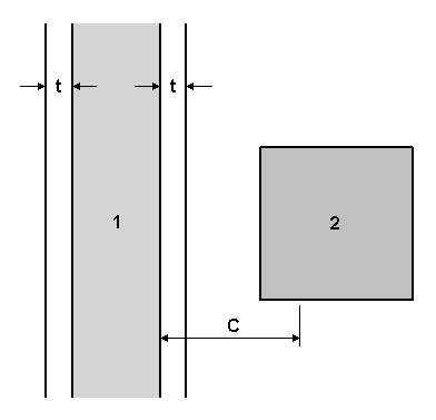
    この無視するルールの適用例については、以下の図を参照してください。

    パイプ 1 の断熱材の厚みは t で、C は現在のモデルのあらゆる場所に必要な最大クリアランス(最も厚みがある断熱材のクリアランス)です。t から Cの範囲内にあるすべての項目(2)は、結果に報告されません。

  • 同一プロパティ値: 特定のプロパティ値を共有するクラッシュが見つかった項目は、結果に報告されません。このテンプレートは、情報が同じプロパティに格納されている場合に使用できます。
  • 同一選択セット: 同じ選択セット内に含まれるクラッシュが見つかった項目は、結果に報告されません。
  • 指定選択セット: 指定した 2 つの選択セット内に含まれているクラッシュが見つかった項目は、結果に報告されません。
  • 同じ値を持つ特定のプロパティ: 同じ値を共有するが、2 つの異なるプロパティを持つクラッシュが見つかった項目は、結果に報告されません。これは、新しいルール テンプレートです。このルールを使用すると、親オブジェクトのプロパティを検索することもできます。たとえば、パイプの端部にあるガスケットを、ポンプのノズルとのクラッシュとして登録します。これらの項目を結びつける必要があります。ガスケット自身には、ポンプのノズルにアタッチすることを指定するために直接アタッチされたプロパティがありませんが、ガスケットの親オブジェクトにはアタッチされたプロパティがあります。このテンプレートを使用すると、クラッシュ テストはこの 2 つの項目間のクラッシュを無視します。

クラッシュ ルールの使用例

クラッシュ ルールの組み合わせが役立つ例を次に示します。

  • 外部リーフ、断熱材、内部リーフ、プラスタボードといった複数の層から構成される空洞壁をモデル内で使用している場合、同一合成オブジェクト内の項目ルールを使用して、接触するリーフのクラッシュを削減し、以前に検出された 2 つの合成オブジェクトの項目ルールを使用して、壁のクラッシュを 4 つのクラッシュではなく 1 つのクラッシュとして考慮することができます。
  • 継手のある配管を調査している場合、スナップ点が一致する項目ルール、および以前に検出された 2 つの合成オブジェクトの項目ルールを使用すると、器具とパイプ間および器具内で報告されるクラッシュを削減できます。
  • パイプと構造物間の主要なクラッシュを調査している場合、同一ファイル内の項目ルール、および以前に検出された 2 つの合成オブジェクトの項目ルールを使用すると、複数のパーツで構成される合成オブジェクトと 1 つの設備が交差している場合でも、同一の設備のファイルを調査する必要がなくなり、1 つのクラッシュ結果を報告するだけで済みます。