Sobre como ajustar a distância entre cotas

Você ajustar automaticamente cotas lineares e angulares paralelas existentes em um desenho, para que estejam igualmente espaçadas ou alinhadas na linha de cota, uma com a outra.

O comando COTALINBASE usa a variável de sistema DIMDLI para criar cotas igualmente espaçadas, mas uma vez que as cotas sejam colocadas, a alteração do valor da variável de sistema não tem efeito no espaçamento das cotas. Se você altera o tamanho do texto ou ajusta a escala para as cotas, elas permanecem na posição original que pode causar problemas com linhas de texto de cotas que se sobrepõem.

Você pode espaçar cotas lineares e angulares que se sobreponham ou que não estejam igualmente espaçadas com o comando DIMSPACE. As cotas que são selecionadas precisam ser lineares ou angulares, do mesmo tipo (rotacionada ou alinhada), paralela ou concêntrica uma com a outra e nas linhas de extensão uma da outra. Você também pode alinhar cotas lineares e angulares ao usar um valor de espaçamento de 0.

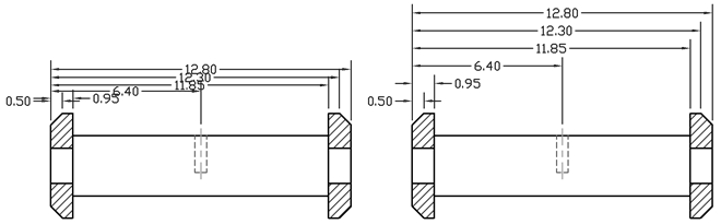
A ilustração a seguir mostra cotas lineares paralelas que não foram igualmente espaçadas e as que estão igualmente espaçadas após usar o comando ESPACOCOTA.