Sobre os componentes de legenda de cotas

Adicione cotas aos componentes individuais de legenda para torná-los mais descritivos.

É possível adicionar cotas a componentes individuais de legenda usando a ferramenta Cota.

É possível cotar a maioria das linhas em um componente de legenda. No entanto, não é possível cotar para componentes hospedeiros, como paredes, tetos e pisos. Da mesma forma, não é possível cotar componentes de famílias de sistema em uma legenda.

Legenda de janela com a primeira janela cotada

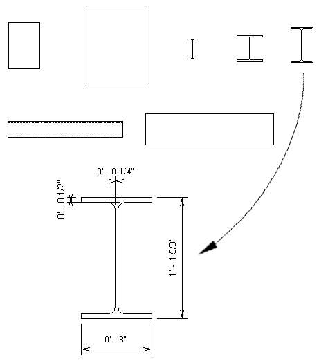
Legenda de componente estrutural com a terceira coluna de flange largo cotada

Exemplos de legenda