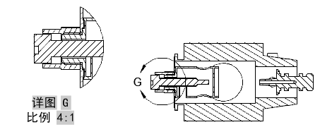
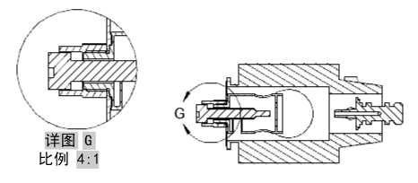
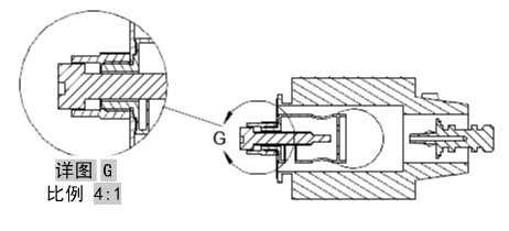
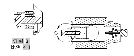
创建模型文档工程视图部分的局部视图。
局部视图是包含部分其他工程视图并且放大到较大比例的工程视图。您可以使用圆形或矩形局部视图。此命令仅可用于布局中,因而必须有工程视图。
将显示以下提示:
指定要从中导出局部视图的视图。
指定父视图的中心点以获得局部视图边界。
此面板仅当已从 Inventor 模型创建局部视图时才可见。在创建局部视图时,仅可以编辑设计视图的值。
指定局部视图的显示选项。

指定局部视图的比例。默认情况下,局部视图的比例将是父视图的两倍或是功能区中“外观”面板上的“比例”列表中的下一个较大值。
指定要为局部视图设置的可见性选项。对象可见性选项是模型特定的,而且某些选项可能在选定的模型和从该模型创建的视图中不可用。
打开或关闭干涉边的可见性。当一个或多个实体彼此相交时,将出现干涉边。启用干涉边的可见性后,程序将在实体相交的位置绘制一条线。

打开或关闭相切边的可见性。相切边可标记平面与圆边之间的过渡,该过渡通常显示为圆角边。

打开或关闭钣金折弯范围线的可见性。钣金折弯范围线表示在展开钣金视图中折弯平开或折叠所围绕的变换位置。
此选项仅当相应的模型具有定义的展开钣金视图时才可用。
打开或关闭螺栓和螺纹孔上的螺纹线的可见性。
打开或关闭表达轨迹线的可见性。表达轨迹线是分解视图(在表达文件中)中的线,用来显示零部件移动到装配位置所用的方向。
指定局部视图边界类型。
如果“推断约束”处于启用状态,则圆形详图边界的中心关联到父视图上的点。如果“推断约束”处于禁用状态,则圆形详图边界的中心不关联到父视图上的点。
如果“推断约束”处于启用状态,则矩形详图边界的角关联到父视图上的点。如果“推断约束”处于禁用状态,则矩形详图边界的角不关联到父视图上的点。
程序始终从图形中确定下一个可用局部标签。
指定是否显示局部视图标签文字。




为详图边界和生成的局部视图指定标签。
指定是否显示局部视图标签文字。
将其放置在绘图区域中后,可以移动局部视图,而无需强制退出该命令。
返回上一提示或完成命令,具体取决于选项在命令循环中的显示位置。