AutoCAD Mechanical toolset 提供了 11 種可供插入圖面的符號。
支援的符號修訂有:
製圖標準定義了每個符號的行為和特性。若要變更特性,請編輯標準的元素。在「選項」對話方塊的「AM:標準」頁籤中存取標準的元素。
貼附行為
建立符號時,您可以將其貼附至物件。此後,當移動物件時,該符號也會隨著移動。
當貼附點不再有效時,符號可以從物件中分離出來。例如

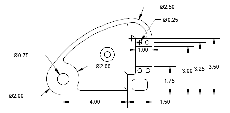
更新事件之前

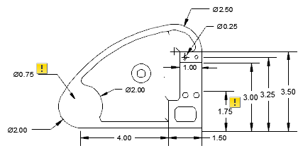
更新事件之後
如果註解監控已打開,它會追蹤已分離的註解,並使用徽章亮顯分離的註解。按一下徽章,將顯示一個功能表,其中包含特定於該註解的選項。
引線建立行為
如果您將符號貼附至弧或雲形線,該符號會強制使第一條引線線段垂直於所貼附物件。在移動十字游標時,您可以透過按「切換符號引線正投影模式」鍵 (依預設為 Shift+F) 來取代此行為。
如果您將符號貼附至線,某些符號會強制使第一條引線線段與所貼附物件互垂。對於不展示此行為的符號,如果打開物件鎖點追蹤,AutoCAD Mechanical toolset 會顯示互垂對齊路徑以追蹤這些符號。
引線起點掣點編輯行為
如果拖曳引線的起點,整個符號會隨之移動。

在移動十字游標時,您可以按「將符號引線切換至拉伸模式」鍵 (依預設為 Shift+G) 來取代此行為。在此模式下,符號不會移動。但是,第一條引線線段會進行拉伸。

符號資源庫
某些符號可讓您將已完全規劃的符號儲存至資源庫。然後,您可以從功能區將它們直接插入圖面,而無需指定值,或僅需指定來自所儲存符號的值。
編輯符號
若要編輯已插入圖面之符號的符號文字,請按兩下該符號。按兩下引線會顯示符號的「設定」對話方塊的「引線」頁籤。
| 符號 | 第一條引線線段垂直於貼附的弧 | 第一條引線線段垂直於貼附的直線 | 符號資源庫 | 透過註解監控追蹤? | Shift+G 支援 |
|---|---|---|---|---|---|
|
基準識別碼 |
是 | 是 | 是 | ||
|
基準目標 |
是 | ||||
|
邊 |
是 | 是 | 是 | 是 | |
|
特徵控制框 |
是 | 是 | 是 | 是 | 是 |
|
特徵識別碼 |
是 | 是 | 是 | 是 | |
|
引線註記 |
是 | 是 | 是 | 是 | |
|
推拔與斜度 |
是 | 是 | 是 | ||
|
表面加工 |
是 | 是 | 是 | 是 | |
|
熔接 |
是 | 是 | 是 | 是 | |
|
標記/戳記 |
是 | 是 | 是 | 是 | |
|
固定接合 |
是 | 是 | 是 | 是 |