Allgemeine Bemaßungen
Sie können allgemeine Bemaßungen in orthogonalen oder isometrischen Ansichten erstellen. Die ausgewählte Geometrie legt fest, welcher Bemaßungstyp und welche Optionen im Kontextmenü ausgewählt werden können.
Sie können den Bemaßungstext überschreiben. Dies wirkt sich nicht auf die Modellgeometrie aus.
Sie können die Genauigkeit und die Toleranz der Bemaßung ändern, die Führungslinie und die Pfeilspitzen bearbeiten oder den Inhalt des Bemaßungstexts ändern.

Basislinienbemaßung und Basislinienbemaßungssätze
Erstellt mehrere Bemaßungen, die die orthogonale Entfernung zwischen dem Ursprung (Basislinie) und ausgewählten Kanten oder Punkten anzeigen. Die zuerst ausgewählte Kante oder der zuerst ausgewählte Punkt wird als Ursprungsgeometrie verwendet. Sie können einzelne Bemaßungen oder einen Bemaßungssatz erstellen.

Koordinatenbemaßungen und Koordinatenbemaßungssätze
Erstellt mehrere Koordinatenbemaßungen in einem einzigen Vorgang. Koordinatenbemaßungen werden beim Platzieren automatisch ausgerichtet. Wenn Bemaßungstext überlappt, können Sie die Bemaßungspositionen oder den Bemaßungsstil ändern. Sie können einzelne Bemaßungen oder einen Bemaßungssatz erstellen.

Bemaßungen abrufen
Zeigt alle Modellbemaßungen an oder nur Bemaßungen, die mit ausgewählten Bauteilen oder Elementen in Beziehung stehen. Sie wählen die Bemaßungen, die in der Zeichnungsansicht beibehalten werden sollen.
Es sind nur Modellbemaßungen verfügbar, die parallel zur Ansichtsebene verlaufen.
Modellbemaßungen können bearbeitet werden, um die Bauteildatei zu ändern.

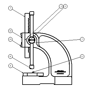
Mittelpunktmarkierungen
Mittelpunktmarkierungen werden dem ausgewählten Bogen oder Kreis hinzugefügt. Hilfslinien von Mittelpunktmarkierungen werden in der Größe automatisch an die Geometrie angepasst.
Mittelpunkte können einzeln oder über den Befehl der automatischen Hilfslinien hinzugefügt werden.

Mittellinien
Erstellt Mittellinien für ausgewählte Kanten am Mittelpunkt für Linien oder am Mittelpunkt von Bogen oder Kreisen. Erstellt eine kreisförmige Mittellinie, wenn Elemente kreisförmig angeordnet sind.
Autodesk Inventor unterstützt drei Typen von Mittellinien: Symmetrielinie, Zentrierte Anordnung und Axial.

Bohrungs-/Gewindeinfos
Bohrungs- oder Gewindeinfos zeigen die Informationen zu den Bohrungs-, Gewindeelementen und zylindrischen Schnittextrusionen in einem Modell. Der Stil der Bohrungsnotiz hängt vom Typ des ausgewählten Elements ab.

Fasenbemaßungen
Fasenbemaßungen geben Abstands- und Winkelmaße für ausgewählte Modellkanten oder skizzierte Linien an.
Sie können Fasenbemaßungen in Ansichten und Skizzen zu Winkelkanten hinzufügen. Eine Fasenkante und eine Referenzkante aus verschiedenen Körpern, Modellen oder Skizzen müssen Teil derselben Ansicht sein.

Symbole
Verschiedene Arten von Symbolen sind verfügbar: Oberflächentextur, Schweißsymbole, Form- und Lagetoleranzen, Elementsymbol, Bezugsstelle und Bezugssymbole. Symbole werden mit oder ohne Führungslinie erstellt.
Skizzensymbole werden in den Zeichnungsressourcen definiert und wie Standardsymbole eingefügt. Sie werden verwendet, um benutzerdefinierte Symbole zu definieren, die in Autodesk Inventor nicht verfügbar sind.

Biegungshinweise
Biegungshinweise fügen Blechbiegungen, Konturrollen und kosmetischen Mittellinien Fertigungsinformationen hinzu. Biegungshinweise können Abwicklungsansichten von Blechbauteilen hinzugefügt werden.
Biegungshinweise sind der ausgewählten Biegungsmittellinie zugeordnet. Der Biegungshinweis wird standardmäßig über der ausgewählten Biegungsmittellinie platziert. Der Biegungshinweistext ist vom Mittelpunkt der Mittellinie abhängig und um den Wert des Ursprungsversatzes des Bemaßungsstils versetzt.

Stanzinfo
Stanzinfos können Daten enthalten, die mit dem Stanzelement in Beziehung stehen: zum Beispiel Stanz-ID, Winkel, Richtung, Tiefe, Mengenhinweis und so weiter.
Stanzinfos können Abwicklungsansichten von Blechteilen hinzugefügt werden.

Schweißnähte (Vorderansicht)
Mit Schweißnähten können Sie Schweißelemente in 2D-Ansichten kennzeichnen. Sie können Schweißnähte mit dem Befehl Schweißnaht manuell hinzufügen. Sie können Schweißnähte auch automatisch hinzufügen. Wählen Sie hierfür im Kontextmenü Modellkommentare abrufen > Schweißkommentare abrufen.

Schweißnähte (Seitenansicht)
Schweißnähte (Seitenansicht) werden verwendet, um den gefüllten Bereich darzustellen, der das Ende einer Gegennaht kennzeichnet. Sie können Schweißnähte mit dem Befehl Schweißnähte (Seitenansicht) manuell hinzufügen oder über die Optionen Modellkommentare abrufen > Schweißkommentare abrufen automatisch abrufen.
Sie können das Aussehen von Schweißnähten über Objekteigenschaften ändern.

Positionsnummern
Positionsnummern sind Anmerkungsbezeichnungen, die in Bauteillisten aufgeführte Elemente angeben. Positionsnummern können einzeln oder automatisch für alle Komponenten in einer Zeichnungsansicht eingefügt werden. Sie können benutzerdefinierten Bauteilen Positionsnummern hinzufügen, sobald diese den Teilelisten hinzugefügt wurden.
Form und Wert der Positionsnummer können mit der Option Positionsnummer bearbeiten aus dem Kontextmenü überschrieben werden. Sie können Positionsnummern kombinieren, sodass sie eine einzelne Führungslinie verwenden. Verwenden Sie hierzu die Optionen zum Zuordnen von Positionsnummern aus dem Kontextmenü.

Teilelisten
Teilelisten zeigen Daten an, die in der Stückliste zur Baugruppe gespeichert sind. Die Teilelisten können so bearbeitet werden, dass sie verschiedene Spalten oder überschriebene Werte enthalten. Die Stücklistendaten können in der Zeichnungsdatei oder der Baugruppendatei geändert werden.
Benutzerdefinierte Bauteile können der Teileliste hinzugefügt werden, sodass sie auch Elemente enthält, die nicht modelliert werden, wie beispielsweise Farbe oder Fett.

Tabellen
Sie können eine allgemeine Tabelle oder eine Konfigurations- oder Biegetabelle erstellen.
Eine allgemeine Tabelle kann eine Standardanzahl an Zeilen und Spalten enthalten. Sie können auch die Größe anpassen. Die allgemeine Tabelle kann auf externe Daten aus.xls, .xlsx oder .csv-Dateien verweisen. Bei Bedarf können Sie auch beliebige andere Datentypen eingeben.
In Zeichnungen von iParts und iAssemblies stellen die Konfigurationstabellenzeilen die Varianten der Teilefamilie dar. Sie können Spalten angeben, die in die Konfigurationstabelle aufgenommen werden sollen, beispielsweise Ausschluss-Status und Werte, die sich für die einzelnen Varianten unterscheiden.
Eine Biegetabelle wird erstellt, wenn ein Blechbauteil Quelle der Tabelle ist. Biegetabellen enthalten Biegeinformationen wie Winkel und Radius.

Bohrungstabellen
Bohrungstabellen zeigen die Größe und Position des Bohrungselements in einem Modell an. Wenn Sie eine Bohrungstabelle hinzufügen, erhalten die einzelnen Bohrungen eine Bohrungsbezeichnung und der Tabelle wird eine entsprechende Zeile hinzugefügt.
Sie können einer Bohrungstabelle darüber hinaus Mittelpunktmarkierungen, Stanzelemente und zylindrische Schnittextrusionen hinzufügen, indem Sie die Tabelle bearbeiten.

Revisionstabellen und -bezeichnungen
Revisionstabellen enthalten Informationen zu Entwurfsänderungen. Revisionstabellen können für die gesamte Zeichnungsdatei oder für ein einzelnes Blatt erstellt werden.
Revisionsbezeichnungen kennzeichnen Objekte, die in Entwurfsrevisionen geändert wurden. Die Standardrevisionsebene für die Bezeichnung ist die letzte Revision in der Tabelle. Die Revisionsebene der Bezeichnung kann über das Kontextmenü geändert werden.

Text oder Führungslinientext
Mit Text können Sie einer Zeichnung allgemeine Hinweise hinzufügen. Allgemeine Notizen sind weder einer Ansicht, einem Symbol noch einem anderen Objekt in der Zeichnung zugeordnet.
Mithilfe von Führungslinientext können Sie Objekten in einer Zeichnung Notizen hinzufügen. Wenn Sie in einer Ansicht der Geometrie eine Führungslinie zuordnen, wird die Notiz beim Verschieben oder Löschen der Ansicht verschoben oder gelöscht.
