Formulas of matrix elements (material orthotropy)

Designations applied:

E - Young's modulus

v - Poisson's ratio

G - shear modulus

Single-sided unidirectional ribs

h - plate thickness

ha - rib height

a - rib spacing

a1 - rib width

Membrane stiffness values:

adopted as: s1 = a*h, s2 = (ha-h)*a1

D_XXXX = E*(s1+s2)/a

D_YYYY = E*h

D_XXYY = v*E*h

D_XYXY = G*h

D_XXXY = 0

D_YYXY = 0

Bending stiffness values:

adopted as: hz = h + a1/12, xv = 1 - v*v

Dyyyy= E/(12*xv)*a/((a-a1)/(h*h*h)+a1/(hz*hz*hz))

I = moment of inertia of a T-section with flange width a/xv, flange thickness h, total height ha and web thickness a1

K_XXXX = E*I/a

K_YYYY = Dyyyy

K_XXYY = v*Dyyyy

K_XYXY = (1-v)/2*Dyyyy

K_XXXY = 0

K_YYXY = 0

Shear stiffness values:

H_XX = 5/6*G*((a-a1)*h + a1*ha)/a

H_YY = 5/6*G*h

H_XY = 0

 

Double-sided unidirectional ribs

h - plate thickness

ha - rib height

a - rib spacing

a1 - rib width

Membrane stiffness:

adopted as: s1 = a*h, s2 = (ha-h)*a1

D_XXXX = E*(s1+s2)/a

D_YYYY = E*h

D_XXYY = v*E*h

D_XYXY = G*h

D_XXXY = 0

D_YYXY = 0

Bending stiffness:

adopted as: hz = h + a1/6, xv = 1 - v*v

Dyyyy= E/(12*xv)*a/((a-a1)/(h*h*h)+a1/(hz*hz*hz))

I = moment of inertia of a cross-shaped section with flange width a/xv, flange thickness h, total height ha and web thickness a1

K_XXXX = E*I/a;

K_YYYY = Dyyyy;

K_XXYY = v*Dyyyy;

K_XYXY = (1-v)/2*Dyyyy

K_XXXY = 0;

K_YYXY = 0;

Shear stiffness values:

H_XX = 5/6*G*((a-a1)*h + a1*ha)/a

H_YY = 5/6*G*h

H_XY = 0

 

Single-sided bi-directional ribs

h - plate thickness

ha - rib height

hb - rib height

a - rib spacing

a1 - rib width

b - rib spacing

b1 - rib width.

Membrane stiffness values:

adopted as:

s1x = a*h, s2x = (h-ha)*a1

s1y = b*h, s2y = (h-hb)*b1

D_XXXX = E*(s1x+s2x)/a

D_YYYY = E*(s1y+s2y)/b

D_XXYY = v*E

D_XYXY = G*h

D_XXXY = 0

D_YYXY = 0

Bending stiffness values:

if ha>=hb, then

a2 = a1, a1 = a-a1, h2 = ha, b2 = b1, b1 = b-b2, h1 = hb

if otherwise (hb>ha), then

a2 = b1, a1 = b-b1, h2 = hb, b2 = a1, b1 = a-b2, h1 = ha

I11 = InertiaTsec(b/xv, b2, hp, h1)

I12 = InertiaTsec(b/xv, b2+a2/6, hp+b2/12, hp+a/12)

I21 = InertiaTsec(a/xv, a2, hp, h2)

I22 = InertiaTsec(a/xv, (a2+a2+b2/6)/2, hp+b2/12, h2)

xv = 1 - v*v

GC1 = G*TorsI(b2,h1)

GC2 = G*TorsI(a2,h2)

D11 = E*a/b/(a1/I11+a2/I12)

D22 = E*b/a/(b1/I21+b2/I22)

K_XXXX = (ha>=hb) D22:D11

K_YYYY = (ha>=hb) D11:D22

K_XXYY = v*E/12.0*(h3/xv+ h1*h1*h1 *a2*b2/(a*b))

K_XYXY = G*h3/12.0 + (GC1/b+GC2/a)/4.0

K_XXXY = 0.0

K_YYXY = 0.0

xv = 1 - v*v

Shear stiffness values:

H_XX = 5/6*G*((a-a1)*h + a1*ha)/a;

H_YY = 5/6*G*h;

H_XY = 0;

 

Unidirectional box floor

h - floor thickness

h1 - lower plate thickness

h2 - upper plate thickness

a - rib spacing

a1 - rib width.

Membrane stiffness values:

adopted as:

s1 = a*h1, s2 = a*h2, s0 = (h-h1-h2)*a1

D_XXXX = E*(s1+s2+s0)/a

D_YYYY = E*(h1+h2)

D_XXYY = v*E*(h1+h2)

D_XYXY = G*(h1+h2)

D_XXXY = 0

D_YYXY = 0

Bending stiffness values:

adopted as:

hz1 = h1 + a1/12, hz2 = h2 + a1/12, xv = 1 - v*v

Dyyyy= E*a/( (a-a1)/InertiaIsec(1/xv,0,h,h1,h2) + a1/InertiaIsec(1/xv,0,h,hz1,hz2))

Iy = InertiaIsec(a/xv,a1,h,h1,h2)

K_XXXX = E*Iy/a

K_YYYY = Dyyyy

K_XXYY = v*Dyyyy

K_XYXY = (1-v)/2*Dyyyy

K_XXXY = 0

K_YYXY = 0

Shear stiffness values:

ha = h-h1-h2

H_XX = 5/6*G*((a-a1)*(h1+h2) + a1*ha)/a

H_YY = 5/6*G*(h1+h2)

H_XY = 0

 

Bi-directional box floor

h - floor thickness

h1 - lower plate thickness

h2 - upper plate thickness

a - rib spacing

a1 - rib width

b - rib spacing

b1 - rib width

Membrane stiffness values:

adopted as:

s1 = a*h1, s2 = a*h2, s0x = (h-h1-h2)*a1, s0y = (h-h1-h2)*b1

D_XXXX = E*(s1+s2+s0x)/a

D_YYYY = E*(s1+s2+s0y)/b

D_XXYY = v*E*(h1+h2)

D_XYXY = G*(h1+h2)

D_XXXY = 0.0

D_YYXY = 0.0

Bending stiffness values:

adopted as:

a2 = a1, a1 = a-a2, double b2 = b1, b1 = b-b2, xv = 1 - v*v

GC1 = G*TorsI(a2,h-h1-h2)

GC2 = G*TorsI(b2,h-h1-h2)

Dpl = InertiaIsec(1/xv,0,h,h1,h2)

I11 = InertiaIsec(b/xv, b2, h, h1, h2)

I12 = InertiaIsec(b/xv, b2+a2/6.0, h, h1+a2/12.0, h2+a2/12.0)

I21 = InertiaIsec(a/xv, a2, h, h1, h2)

I22 = InertiaIsec(a/xv, a2+b2/6.0, h, h1+b2/12.0, h2+b2/12.0)

D11 = E*a/b/(a1/I11+a2/I12)

D22 = E*b/a/(b1/I21+b2/I22)

K_XXXX = D22

K_YYYY = D11

K_XXYY = v*E*(Dpl+h3/12.0*a2*b2/(a*b))

K_XYXY = (1.0-v)/2.0*E*Dpl+(GC1/b+GC2/a)/4.0

K_XXXY = 0.0

K_YYXY = 0.0

Shear stiffness values:

H_XX = 5.0/6.0*G*((a-a1)*(h1+h2) + a1*h)/a

H_YY = 5.0/6.0*G*((b-b1)*(h1+h2) + b1*h)/b

H_XY = 0.0

 

Grillage

h - rib height

a - rib spacing

a1 - rib width

b - rib spacing

b1 - rib width

Membrane stiffness values:

D_XXXX = E*h*a1/a

D_YYYY = E*h*b1/b

D_XXYY = 0.0

D_XYXY = G*h*(1.-(a-a1)*(b-b1)/(a*b))

D_XXXY = 0.0

D_YYXY = 0.0

Bending stiffness values:

a2 = a1; a1 = a-a2; b2 = b1; b1 = b-b2

D=E*h3/12, a23=a2*a2*a2, b23=b2*b2*b2

K_XXXX = D * a2/a

K_YYYY = D * b2/b

K_XXYY = v*D * (a2*b2)/(a*b)

K_XYXY = D*(1-v*v*a2*b2/(a*b))/(a*b*(a/a23+b/b23))

K_XXXY = 0.0

K_YYXY = 0.0

Shear stiffness values:

H_XX = 5.0/6.0*G*h*a1/a

H_YY = 5.0/6.0*G*h*b1/b

H_XY = 0.0

 

Slab on trapezoidal plate

h - plate thickness

h1 - steel plate height

a - steel plate rib spacing

a1 - bottom rib width

a2 - top rib width

Stiffness values D, K and H are calculated in the identical manner as for the single-sided unidirectional ribs type after substituting the following quantities:

a1 = (a1+a2)/2

ha = h+h1.

Material orthotropy

h - plate thickness

n1 stiffness coefficient

n2 stiffness coefficient

The following assumptions are adopted:

E1= E*n1 E2= E*n2

G1= E1*/(2*(1+v)) G2= E2*/(2*(1+v))

G12=sqrt(E1*E2)/(2*(1+v))

H3= h*h*h*/(12*(1-v*v))

Membrane stiffness values:

D_XXXX = E1 * h/(1-v*v)

D_YYYY = E2 * h/(1-v*v)

D_XXYY = v * h * sqrt (E1 * E2)/(1- v*v)

D_XYXY = G12 * h

D_XXXY = 0.0

D_YYXY = 0.0

Bending stiffness values:

K_XXXX = E1 * H3 = K11

K_YYYY = E2 * H3 = K22

K_XXYY = v * sqrt ( K11 * K22)

K_XYXY = (1-v)/2*sqrt(K11*K22) = h*h*h/12*G12

K_XXXY = 0.0

K_YYXY = 0.0

Shear stiffness values:

H_XX = 5/6 * G1 * h

H_YY = 5/6 * G2 * h

H_XY = 0.0

 

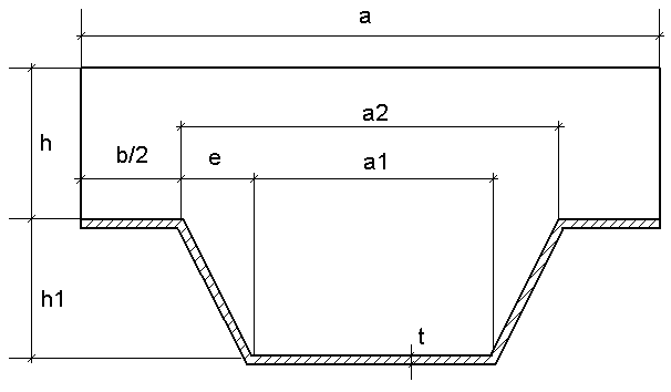
Trapezoidal plate

h - plate height

t - plate thickness

a, a1, a2 - dimensions of a single plate segment (spacing, width values)

The following assumptions are adopted:

v2= v*v

B = E*t*t*t /(12*(1-v2))

M = E*t/(1-v2)

b = a-a2

c = (a2-a1)/2

lx = sqrt(h*h+c*c)

ca = c/lx

Ax = a1+b+2*lx

e = h*(lx+a1)/Ax

Ix = e*e*b + 2*lx/3 (h*h+3*e*(e-h))+ (e-h)*(e-h)*a1

As = b+2*ca*ca*lx+a1

Membrane stiffness values:

D_XXXX = M*Ax/a

D_YYYY = a/(Ix/B + As/M)

D_XXYY = D_YYYY*v

D_XYXY = G*t*a/Ax

D_XXXY = 0.0

D_YYXY = 0.0

Bending stiffness values:

K_XXXX = (M*Ix+B*As)/a

K_YYYY = B*a/Ax

K_XYXY = G*t/a*(Ix + t*t/12*(As*(1+Ax/a)-a))

K_XXXY = 0.0

K_YYXY = 0.0

Shear stiffness values:

H_XX = G*t*5/6*Ax/kx/a

H_XY = 0.0

kx = Ax/(2*lx)

 

Corrugated plate

h - plate height

t - plate thickness

a - dimension of a single plate segment (spacing)

The following assumptions are adopted:

The equation describing plate geometry:

Membrane stiffness values:

D_XXXX = M*I1/2p

D_YYYY = 2p M/(I2+ 12*(h/t)*(b/t)*I3)

D_XXYY = D_YYYY*v

D_XYXY = 2p G*t /I1

D_YYXY = 0.0

Bending stiffness values:

K_XXXX = M* b*b*I3/2?

K_YYYY = 2p B /I1

K_XYXY = G*t*b*b*I3/2p+G*t*t*t/12*(I2/2p *(1+I1/2p)-1)

K_XXXY = 0.0

K_YYXY = 0.0

Shear stiffness values:

H_XX = G*t*5/6*I1/2p

H_XY = 0.0

 

Slab composed with a trapezoidal plate

h - slab thickness

h1 - trapezoid plate height

t - trapezoid plate thickness

a, a1, a2 - dimensions of a single plate segment (spacing, widths)

Es - Young's modulus (trapezoid steel)

vs - Poisson's ratio (trapezoid steel)

Eb - Young's modulus (concrete; a value adopted based on a selected material)

vb - Posson's ratio (concrete; a value adopted based on a selected material)

Assumptions:

b = a - a2

e = 0.5*(a-(b+a1))

Note: The value of the e parameter may be less than zero ( a slab / plate with the shape shown is allowed).

s = sqrt(e*e+h1*h1)

Ab1 = a*h

Ab2 = (a1+e)*h1

As = t*(b+2*e+a1)

Ebx = Eb/(1.0-vb*vb)

Esx = Es/(1.0-vs*vs)

Gb = Eb/(2.0*(1.0+vb))

Gs = Es/(2.0*(1.0+vs))

hx - equivalent height of concrete which equals:

if h+(a-b)/6.0 < h+h1, to h+(a-b)/12.0

if h+(a-b)/6.0 > h+h1, to h+h1/2

hx3 = hx*hx*hx

y0 = (Ebx*(Ab1*(h1+h/2)+a1*h1*h1/2+2*e*h1*h1/3.0)+Es*t*(b*h1+e*h1))/(Ebx*(Ab1+Ab2)+Es*As)

h3 = h*h*h

d3 = h1*h1* h1

e1 = h1+h/2 -y0

e1 = e1*e1

e2 = y0- h1/2

e2 = e2*e2

e3 = (y0-2*h1/3.0)^2

y1 = Ebx*h*h/(2*(Ebx*h+Esx*t));

hd = h+0.5*h1

hd3 = hd*hd*hd

Membrane stiffness:

D_XXXX = (Ebx*(Ab1+Ab2)+As*Esx)/a

D_YYYY = a/(b/(h*Ebx+t*Esx)+(a-b)/(hx*Ebx))

D_XXYY = D_YYYY*vb

D_XYXY = Gb*a/((a1+e)/(h+h1)+(b+e)/h) + Gs*t*a/(As/t)

D_XXXY = 0.0

D_YYXY = 0.0

Bending stiffness:

K_XXXX = ( Ebx*(a*h3/12+Ab1*e1+ a1*d3/12 + a1*h1*e2 +e*d3/36 +e*h1/2*e3) + Esx*t*(b*(y0-h1)*(y0-h1) + a1*y0*y0 + e*h1*h1/12 + e*e2))/a

K_YYYY = a/(b/(Ebx*(h3/12.0 + h*(y1-h/2)*(y1-h/2)) + Esx*t*y1*y1) + (a-b)/(Ebx*hx3/12.0))

K_XXYY = vb*Ebx*a/(b/h3 + (a-b)/hx3)/12.0

K_XYXY = Gb*h3/12

K_XYXY = = Gb*a/(b/h3 + (a-b)/hd3)/12.0

K_XXXY = 0.0

K_YYXY = 0.0

Shear stiffness:

H_XX = Gb*(Ab1+Ab2)/a*5.0/6.0

H_YY = Gb*a/(b/h + (a-b)/hd)*5.0/6.0

H_XY = 0.0

 

Hollow slab

ha = h - h1 - h2 stiffener height

Membrane stiffness:

s1 = a*h1, s2 = a*h2, s0 = (h-h1-h2)*a-(3,14*a1*a1/4+c*a1)

D_XXXX = E/xv*(s1+s2+s0)/a

D_YYYY = E/xv *(h1+h2)

D_XXYY = v*E/xv *(h1+h2)

D_XYXY = G*(h1+h2)

D_XXXY = 0

D_YYXY = 0

Bending stiffness:

hz1 = h1 + a1/12, hz2 = h2 + a1/12, xv = 1 - v*v, r = a1/2

Dyyyy= E*a/((a-a1)/(InertiaIsec(1/xv,0,h,h1,h2) + a1/InertiaIsec(1/xv,0,h,hz1,hz2))

Iy = InertiaIsec(a/xv,a1,h,h1,h2) + 4*(0,00755*r*r*r*r + 0,2146*r*r*(c/2+0,7766*r)*(c/2+0,7766*r))

If the stiffness of bending in Y direction was disregarded, then Dyyyy = 1,0*e-4*Dyyyy

If not, then Dyyyy = Dyyyy

K_XXXX = E*Iy/a

K_YYYY = Dyyyy

K_XXYY = v*Dyyyy

K_XYXY = (1-v)/2*Dyyyy

K_XXXY = 0

K_YYXY = 0

Shear stiffness:

H_YY = 5/6*G*(h1+h2)

H_XY = 0