Sets the properties for the detail boundary line, model edge and connection line, of detail views.
List of Options
The following options are displayed.
Boundary line
- Line color
- Sets the color for the detail boundary line. If you click Select Color (at the bottom of the Color list), the Select Color dialog box is displayed. You can also enter a color name or number.
Note: If you select the color labelled “By NameOfCurrentDraftingStandard”, the detail boundary line color is obtained from the Object Property Settings dialog box. This option is available only for AutoCAD Mechanical toolset detail view styles.
- Linetype
- Sets the linetype for the detail boundary line. If you click Other, the Select Linetype dialog box is displayed.
Note: If you select the linetype labelled “By NameOfCurrentDraftingStandard”, the linetype is obtained from the Object Property Settings dialog box. This option is available only for AutoCAD Mechanical toolset detail view styles.
- Lineweight
- Sets the lineweight of the detail boundary.
Note: If you select the lineweight labelled “By NameOfCurrentDraftingStandard”, the detail boundary lineweight is obtained from the Object Property Settings dialog box. This option is available only for AutoCAD Mechanical toolset detail view styles.
Model Edge
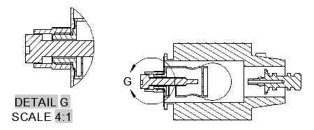
- Smooth
- Sets the cut lines on the models in detail views to be smooth.
| applied to model documentation detail views |
applied to AMDETAIL detail views |
|
|
|
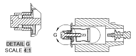
- Smooth with border
- Displays a border around detail views and sets the cut lines on the models shown in detail views to be smooth.
| applied to model documentation detail views |
applied to AMDETAIL detail views |
|
|
|
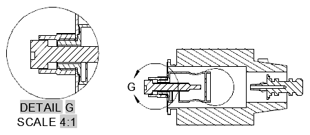
- Smooth with connection line
- Displays a connection line between the detail border and the detail view boundary. Additionally, displays a border around detail views and sets the cut lines on the models shown in detail views to be smooth.
| applied to model documentation detail views |
applied to AMDETAIL detail views |
|
|
|
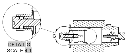
- Jagged
- Sets the cut lines on the models in detail views to be jagged.
| applied to model documentation detail views |
applied to AMDETAIL detail views |
|
|
Note: AMDETAIL detail views do not support jagged cut lines. When this option is selected, AMDETAIL drawing views behave as though the Smooth option is selected.
|
- Line color
- Sets the color of the detail border. If you click Select Color (at the bottom of the Color list), the Select Color dialog box is displayed. You can also enter a color name or number.
Note: If you select the color labelled “By NameOfCurrentDraftingStandard,”, the detail border line color is obtained from the Object Property Settings dialog box. This option is available only for AutoCAD Mechanical toolset detail view styles.
- Linetype
- Sets the linetype for the detail border. If you click Other, the Select Linetype dialog box is displayed.
Note: If you select the linetype labelled “By NameOfCurrentDraftingStandard,”, the detail border linetype is obtained from the Object Property Settings dialog box. This option is available only for AutoCAD Mechanical toolset detail view styles.
- Lineweight
- Sets the lineweight of the detail view border.
Note: If you select the linetype labelled “By NameOfCurrentDraftingStandard,”, the detail border lineweight is obtained from the Object Property Settings dialog box. This option is available only for AutoCAD Mechanical toolset detail view styles.
Connection line
- Line color
- Sets the color for the line connecting the detail border to the detail view boundary. If you click Select Color (at the bottom of the Color list), the Select Color dialog box is displayed. You can also enter a color name or number.
Note: If you select the color labelled “By NameOfCurrentDraftingStandard,”, the connection line color is is obtained from the Object Property Settings dialog box. This option is available only for AutoCAD Mechanical toolset detail view styles.
- Linetype
- Sets the linetype for the connection line. If you click Other, the Select Linetype dialog box is displayed.
Note: If you select the linetype labelled “By NameOfCurrentDraftingStandard,”, the connection line linetype is obtained from the Object Property Settings dialog box. This option is available only for AutoCAD Mechanical toolset detail view styles.
- Lineweight
- Sets the lineweight of the connection line.
Note: If you select the linetype labelled “By NameOfCurrentDraftingStandard,”, the connection line lineweight is obtained from the Object Property Settings dialog box. This option is available only for AutoCAD Mechanical toolset detail view styles.
Restore Defaults
Returns all values to the default values for the drafting standard and revision the style is based on. This button is visible only for AutoCAD Mechanical toolset detail view styles.