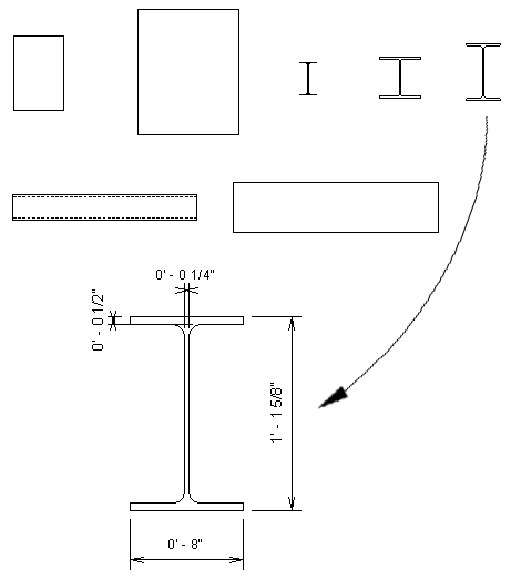
Añada cotas a componentes de leyenda individuales para que sean más descriptivos.
Puede agregar cotas a componentes de leyendas individuales utilizando la herramienta Cota.
Se pueden acotar la mayoría de las líneas dentro de un componente de leyenda. Sin embargo, no se pueden acotar componentes anfitriones, como los muros, techos y suelos. Tampoco se pueden acotar componentes de familia de sistema dentro de una leyenda.


