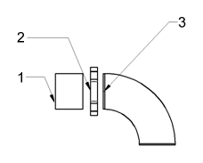
AutoCAD MEP toolset détermine les connexions sur un raccord ou segment de tuyauterie et ajoute les joints adéquats en fonction des spécifications des préférences de routage des composants de tuyaux. Le nombre de joints ajoutés dépend du type de connexion. L'illustration représente un segment de tuyau et ses raccords. Le logiciel détermine le nombre de joints, comme suit :

Le segment de tuyau (n° 1) hérite du type de connexion du raccord rainuré femelle (n° 2). La connexion du raccord coudé (n° 3) hérite du type de connexion du manchon rainuré femelle (n° 2), comme spécifié dans les préférences de routage.