Pour une machine de tournage/fraisage, le porte-outil est maintenue par les blocs d'outil. Les blocs d'outil sont probablement fournis par le revendeur de la machine. En soi, elles sont stockées dans le fichier de conception machine.
Il y a trois type de base de bloc d'outil :
Ce bloc d'outil maintient les outils de tournage à droite et est monté sur la face de la tourelle.
Ce bloc d'outil maintient les outils de tournage à gauche et est monté sur la face de la tourelle.
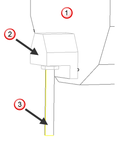
- Tourelle
- Bloc d'outil
- Outil
Ce bloc d'outil maintient les outils de fraisage parallèle à l'axe X et est monté sur l'extérieur de la tourelle.
- Tourelle
- Bloc d'outil X (montage extérieur)
- Outil X
Ce bloc d'outil maintient les outils de fraisage parallèle à l'axe X et est monté sur la face de la tourelle.
- Tourelle
- Outil X non-monté sur le bloc extérieur
- Outil X
Ce bloc d'outil maintient les barres d'alésage et les forets parallèles à l'axe Z et peut être monté sur l'extérieur ou sur la face de la tourelle.
- Tourelle
- Bloc d'outil Z ou intérieur
- Outil Z et porte-outil
Vous pouvez faire la différence entre un bloc d'outil de tournage extérieur pour un outil à gauche par rapport à un outil à droite. Si vous utilisez un outil de tournage à gauche, ajouter un bloc d'outil à gauche.
Il y a une autre option pour les outils rotatifs-X et d'axe-Z : vous pouvez les monter sur l'extérieur ou sur la face de la tourelle. Si, quand vous ajoutez un emplacement d'outil sur la tourelle, vous avez spécifiez que la position de l'outil était sur la face de la tourelle, vous devriez utiliser l'option de montage sur la face dans cette boite de dialogue également. (Le contraire est également applicable, si l'outil monté sur l'extérieur a été utilisé comme emplacement d'outil, spécifier que le bloc d'outil est également monté sur l'extérieur.)
Si vous ne pouvez pas monter un outil sur l'extérieur de la tourelle, vous n'avez pas besoin de définir de bloc d'outil monté sur l'extérieur. Vous devez, cependant, avoir au moins un bloc d'outil solide défini pour chaque type d'outil que vous voulez simuler. Actuellement, vous ne pouvez pas utiliser le même solide pour différents types de blocs d'outils.
Si vous ne définissez pas de bloc d'outil de tournage extérieur, FeatureCAM essaie d'utiliser un bloc d'outil-X monté sur l'extérieur pour n'importe quel outil de tournage extérieur. De cette manière, vous pouvez généralement définir une machine avec seulement deux blocs d'outils, un pour les outils-X et de tournage extérieur et un autre pour les barres d'alésage intérieur et les outils-Z.
Vous ne devez définir que les blocs d'outils pour la tourelle principale. Les blocs d'outils avec les transformations appropriées sont automatiquement utilisés pour la tourelle secondaire.