Tworzy rzut szczegółu części widoku rysunku dokumentacji modelu.
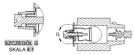
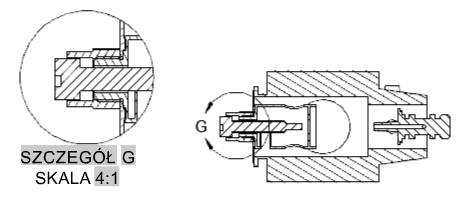
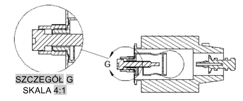
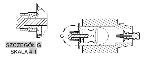
Widok szczegółu to widok rysunku zawierający część innego widoku rysunku, powiększony do większej skali. Widok szczegółów może być kołowy lub prostokątny. To polecenie jest obsługiwane tylko w układzie w widoku rysunku.
Wyświetlane są następujące monity.
Określa widok, z którego chcesz utworzyć widok szczegółu.
Określa punkt środkowy w widoku macierzystym dla obwiedni widoku szczegółu.
Ten panel będzie widoczny tylko wtedy, gdy widok szczegółów utworzono na podstawie modelu programu Inventor. Podczas tworzenia widoków szczegółów można edytować tylko wartości widoku projektu.
Określa opcje wyświetlania widoku szczegółów.

Określa skalę widoku szczegółów. Domyślnie skala widoku szczegółów jest dwukrotnością skali rzutu macierzystego lub następną większą wartością na liście skal na panelu Wygląd na wstążce.
Określa opcje widoczności, które można ustawić dla widoku szczegółów. Opcje widoczności obiektu są specyficzne dla modelu. Niektóre z nich mogą być niedostępne w wybranym modelu oraz widoku utworzonym dla modelu.
Powoduje wyłączenie lub włączenie widoczności krawędzi przenikania. Krawędzie przenikania występują, gdy jedna lub więcej brył przecina się ze sobą. Gdy widoczność krawędzi przenikania jest włączona, program rysuje linię w miejscu zetknięcia brył.

Wyłącza lub włącza widoczność krawędzi stycznych. Krawędzie styczne oznaczają przejścia pomiędzy płaską powierzchnią i łukową krawędzią, najczęściej spotykaną jako zaokrąglone krawędzie.

Umożliwia włączenie lub wyłączenie widoczności zakresu gięcia konstrukcji blachowej. Linie zakresu gięcia konstrukcji blachowej wskazują położenie przejścia, wokół którego są zaginane zawiasy lub zawinięcia w spłaszczonym widoku konstrukcji blachowej.
Ta opcja będzie dostępna tylko wtedy, gdy dla odpowiadającego modelu zdefiniowano spłaszczony widok konstrukcji blachowej.
Umożliwia włączenie lub wyłączenie widoczności linii gwintu śrub i otworów gwintowanych.
Umożliwia włączenie lub wyłączenie widoczności torów montażu prezentacji. Tory montażu prezentacji to linie w rozbitym widoku (w pliku prezentacji) pokazujące kierunek, wzdłuż którego komponenty są przesuwane do zamocowanego położenia.
Określa typ linii ograniczającej widoku szczegółów.
Jeśli automatyczne tworzenie wiązań jest włączone, środek okrągłej obwiedni szczegółów jest skojarzony z punktem na rzucie macierzystym. Jeśli automatyczne tworzenie wiązań jest wyłączone, środek okrągłej obwiedni szczegółów nie jest skojarzony z punktem w rzucie macierzystym.
Jeśli automatyczne tworzenie wiązań jest włączone, narożnik prostokątnej obwiedni szczegółów jest skojarzony z punktem w rzucie macierzystym. Jeśli automatyczne tworzenie wiązań jest wyłączone, narożnik prostokątnej obwiedni szczegółów nie jest skojarzony z punktem w rzucie macierzystym.
Program zawsze określa z rysunku następną wolną etykietę szczegółu.
Określa, czy wyświetlany jest tekst etykiety szczegółu.




Określa etykietę dla obwiedni szczegółu i wynikowego widoku szczegółów.
Określa, czy wyświetlany jest tekst etykiety widoku szczegółów.
Po umieszczeniu widoku szczegółów w obszarze rysunku przesuwa go bez wymuszania zakończenia polecenia.
Powoduje powrót do poprzedniego monitu lub zakończenie polecenia, w zależności od tego, gdzie w cyklu polecenia występuje ta opcja.