Guia Limite de detalhe, caixa de diálogo Modificar estilo de vista de detalhe do (AutoCAD Mechanical toolset)

Define as propriedades para a linha de limite de detalhe, a aresta do modelo e a linha de conexão para detalhe das vistas de detalhe.

Lista de opções

As seguintes opções são exibidas.

Linha de limite

Cor de linha
Define a cor da linha de limite de detalhe. Se você clicar em Selecionar cor (na parte inferior da lista Cor), a caixa de diálogo Selecionar cor será exibida. Também é possível inserir o nome ou o número de uma cor.
Nota: Se você selecionar a cor identificada "Por NameOfCurrentDraftingStandard”, a cor da linha do limite de detalhe será obtida na caixa de diálogo Configurações das propriedades de objetos. Essa opção só está disponível para estilos de vista de detalhe do AutoCAD Mechanical toolset.
Tipo de linha
Define o tipo de linha para a linha de limite de detalhe. Se você clicar em Outro, a caixa de diálogo Selecionar tipo de linha será exibida.
Nota: Se você selecionar o tipo de linha identificado como "Por NameOfCurrentDraftingStandard”, o tipo de linha será obtido na caixa de diálogo Configurações de propriedades de objetos. Essa opção só está disponível para estilos de vista de detalhe do AutoCAD Mechanical toolset.
Espessura de linha
Define a espessura de linha do limite de detalhe.
Nota: Se você selecionar a espessura de linha identificada "Por NameOfCurrentDraftingStandard”, a espessura de linha do limite de detalhe será obtida na caixa de diálogo Configurações das propriedades de objetos. Essa opção só está disponível para estilos de vista de detalhe do AutoCAD Mechanical toolset.

Aresta do modelo

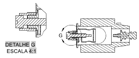
Suave
Define como suaves as linhas de corte nos modelos nas vistas de detalhe.
aplicado às vistas de detalhe da documentação do modelo aplicado às vistas de detalhe criadas com o comando AMDETAIL
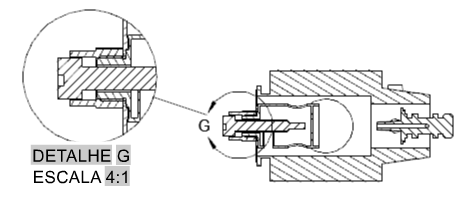
Suave com borda
Exibe uma borda em torno das vistas de detalhe e define como suaves as linhas de corte nos modelos exibidos nas vistas de detalhe.
aplicado às vistas de detalhe da documentação do modelo aplicado às vistas de detalhe criadas com o comando AMDETAIL
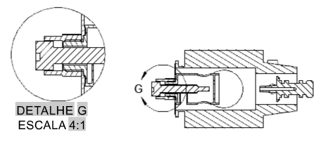
Suave com linha de conexão
Exibe uma linha de conexão entre a borda de detalhe e o limite da vista de detalhe. Além disso, exibe uma borda em torno das vistas de detalhe e define como suaves as linhas de corte nos modelos exibidos nas vistas de detalhe.
aplicado às vistas de detalhe da documentação do modelo aplicado às vistas de detalhe criadas com o comando AMDETAIL
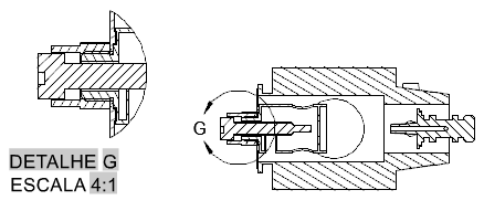
Irregular
Define como irregulares as linhas de corte nos modelos nas vistas de detalhe.
aplicado às vistas de detalhe da documentação do modelo aplicado às vistas de detalhe criadas com o comando AMDETAIL
Nota: As vistas de detalhe criadas com o comando AMDETAIL não são compatíveis com as linhas de corte irregulares. Quando essa opção for selecionada, as vistas de desenho AMDETAIL se comportarão como se a opção Suave tivesse sido selecionada.
Cor de linha
Define a cor da borda de detalhe. Se você clicar em Selecionar cor (na parte inferior da lista Cor), a caixa de diálogo Selecionar cor será exibida. Também é possível inserir o nome ou o número de uma cor.
Nota: Se você selecionar a cor identificada "Por NameOfCurrentDraftingStandard”, a cor da linha da borda de detalhe será obtida na caixa de diálogo Configurações das propriedades de objetos. Essa opção só está disponível para estilos de vista de detalhe do AutoCAD Mechanical toolset.
Tipo de linha
Define o tipo de linha para a borda de detalhe. Se você clicar em Outro, a caixa de diálogo Selecionar tipo de linha será exibida.
Nota: Se você selecionar o tipo de linha identificado "Por NameOfCurrentDraftingStandard”, o tipo de linha da borda de detalhe será obtido na caixa de diálogo Configurações das propriedades de objetos. Essa opção só está disponível para estilos de vista de detalhe do AutoCAD Mechanical toolset.
Espessura de linha
Define a espessura de linha da borda da vista de detalhe.
Nota: Se você selecionar o tipo de linha identificado "Por NameOfCurrentDraftingStandard”, a espessura de linha da borda de detalhe será obtida na caixa de diálogo Configurações das propriedades de objetos. Essa opção só está disponível para estilos de vista de detalhe do AutoCAD Mechanical toolset.

Linha de conexão

Cor de linha
Define a cor da linha que conecta a borda de detalhe e o limite da vista de detalhe. Se você clicar em Selecionar cor (na parte inferior da lista Cor), a caixa de diálogo Selecionar cor será exibida. Também é possível inserir o nome ou o número de uma cor.
Nota: Se você selecionar a cor identificada "Por “NameOfCurrentDraftingStandard”, a cor da linha de conexão para detalhe será obtida na caixa de diálogo Configurações das propriedades de objetos. Essa opção só está disponível para estilos de vista de detalhe do AutoCAD Mechanical toolset.
Tipo de linha
Define o tipo de linha para a linha de conexão. Se você clicar em Outro, a caixa de diálogo Selecionar tipo de linha será exibida.
Nota: Se você selecionar o tipo de linha identificado "Por NameOfCurrentDraftingStandard”, o tipo da linha de conexão será obtido na caixa de diálogo Configurações das propriedades de objetos. Essa opção só está disponível para estilos de vista de detalhe do AutoCAD Mechanical toolset.
Espessura de linha
Define a espessura de linha de conexão.
Nota: Se você selecionar o tipo de linha identificado "Por NameOfCurrentDraftingStandard”, a espessura de linha de conexão será obtida na caixa de diálogo Configurações das propriedades de objetos. Essa opção só está disponível para estilos de vista de detalhe do AutoCAD Mechanical toolset.

Restaurar padrões

Reverte todos os valores para os valores padrão da norma e da revisão de desenho nas quais o estilo se baseia. Esse botão só é visível para estilos de vista de detalhe do AutoCAD Mechanical toolset.