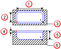
Utilize a figura Cavidade Retangular para criar uma cavidade retangular.

— Comprimento
— Largura
— Raio de canto
— Chanfro
— Profundidade
— Raio inferior
Para isso, insira o diâmetro da cavidade nos campos comprimento e largura, e insira o raio da cavidade no campo raio de canto.