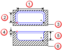
Используйте элемент Прямоугольный карман для создания прямоугольных карманов.

— длина
— ширина
— радиус угла
— фаска
— глубина
— нижний радиус
Чтобы сделать это, введите диаметр кармана в полях Длина и Ширина и введите радиус кармана в поле Радиус угла.