关于接头指定

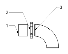
AutoCAD MEP toolset 确定管道管件或管段上的接头并添加管道零件布管系统配置中指定的适当接头。软件添加的接头数量取决于连接类型。该图显示了管段和管件。软件确定接头的数量,如下所示:

管段 (#1) 继承内螺纹沟槽连接卡箍连接 (#2) 的连接类型。弯头管件 (#3) 上的接头继承内螺纹沟槽连接卡箍连接 (#2) 的连接类型,如布管系统配置中指定的那样。