设置碰撞规则

使用“忽略碰撞”规则可忽略碰撞项目的某些组合,从而减少碰撞结果数。“Clash Detective”工具同时包括默认碰撞规则和可用于创建自定义碰撞规则的碰撞规则模板。

默认碰撞规则

系统内置了以下“忽略碰撞”规则:

  • 在同一层的项目 - 在结果中不报告被发现有碰撞且处于同一层的任何项目。例如,如果您希望忽略 Revit 文件(2014 或更高版本)中位于相同级别上的碰撞,此选项非常有用。在“选择树”中,图层或级别由 图标表示。
  • 同一个组/块/单元中的项目 - 在结果中不报告发现有碰撞且处于同一个组(或插入的块)中的任何项目,如 AutoCAD 中的块定义或 MicroStation 中的单元定义。在“选择树”中,组、块和单元由 图标表示。
  • 在同一文件的项目 - 在结果中不报告发现有碰撞且处于同一文件(外部参考文件或附加文件)中的任何项目。如果模型中包含多个 CAD 文件,使用此选项可以仅搜索不同文件之间的碰撞。
  • 同一复合对象中的项目 - 在结果中不报告发现有碰撞且属于同一复合对象(由一组几何图形项目表示的单个 CAD 对象)的任何项目。复合对象 () 是在“选择树”中被视为单个对象的一组几何图形。例如,一个窗口对象可以由一个框架和一个窗格组成,一个空心墙对象可以由多个图层组成。此规则可以确保忽略 CAD 对象中的自相交。在以上示例中,窗口窗格和框架可以建模,以便零件互相接触或重叠。此规则将忽略二者之间的碰撞。
  • 注: 您可以选择在碰撞结果中包括复合对象。请参见“选择”选项卡
  • 在先前找到的复合对象对中的项目 - 在结果中不报告发现有碰撞且属于先前已在测试中报告的复合对象的任何项目。例如,同一对复合对象之间存在碰撞时,它们将被视为单个碰撞,因此仅报告一次碰撞。其他碰撞将被忽略。“忽略同一复合对象中的项目”将忽略单个对象的零件之间的碰撞,而此规则将忽略多个不同复合对象之间的碰撞。这有助于减少误报。此规则的一个示例是穿墙的管道。选择此选项后,碰撞将只计为一次,而不是将管道与墙的每一侧之间的碰撞都计为单独的碰撞。
  • 捕捉点重合的项目 - 在结果中不报告发现有碰撞且捕捉点重合的任何项目,例如在中心线的端点处具有捕捉点的管道管路和管件。Autodesk Navisworks 会将一个圆柱体绘制为一系列三角形,以提高性能(尝试使用“隐藏线”模式,以查看如何绘制)。根据圆柱体的镶嵌面系数,部分三角形可能会相互碰撞,即使管道或管件配合良好(如果绘制成全圆形)。

规则模板

用户也可以创建自己的忽略规则。除了默认碰撞规则外,可以使用以下规则模板:

  • 隔热层厚度 - 在结果中不报告发现有碰撞且其间隙值大于指定隔热层厚度的任何项目。该规则应该用于间隙测试。

    如果具有一个需要特定隔热层厚度的管道,则可能希望对该管道执行间隙测试,以便将间隙公差设置为所需的隔热层厚度。这可以确定其管道周围没有足够间隙来安装隔热层的任何区域。

    如果具有各种管道,它们都需要不同的隔热层厚度,则可以设置一个具有最大所需公差的测试(即假定所有管道都需要最大的隔热层厚度),而不是为每个厚度设置单独的间隙测试。然后,可以应用该规则以忽略错误识别的任何碰撞,因为其实际隔热层厚度小于所使用的最大间隙。

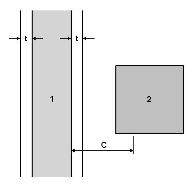
    有关在何处应用该忽略规则的示例,请参见下图。

    管道 1 的隔热层厚度为 tC 为当前模型中任何位置所需的最大间隙(最厚的隔热层)。在结果中将不报告与管道距离介于 tC 之间的任何项目 (2)。

  • 相同的特性值 - 在结果中将不报告发现有碰撞且共享特定特性值的任何项目。在同一特性上存储信息时,可以使用该模板。
  • 与选择集相同 - 在结果中将不报告发现有碰撞且包含在同一选择集内的任何项目。
  • 指定选择集 - 在结果中将不报告发现有碰撞且包含在两个指定选择集内的任何项目。
  • 具有相同值的指定特性 - 在结果中将不报告发现有碰撞且共享同一值,但该值属于两个不同特性的任何项目。这是一个新规则模板。使用该规则还可以查找任何父对象上的特性。例如,管道末端的垫圈被注册为与泵管口的碰撞。应该将这些项目连接在一起。垫圈本身没有直接附加任何特性以表明应该将它附加到泵管口;但是,垫圈的父对象则正好相反。如果使用该模板,则碰撞检测将忽略这两个项目之间的碰撞。

碰撞规则使用示例

以下示例展示了结合使用碰撞规则的优势:

  • 如果您在模型中使用由若干图层(外墙、隔热层、内墙和石膏板)组成的空心墙,则可以使用“同一复合对象中的项目”规则以减少接触墙体产生的碰撞,并使用“在先前找到的同一组合对象中的项目”规则,以将与墙体之间的所有碰撞计为单个碰撞,而不是四个碰撞。
  • 如果您正在检查配有管件的管道管路,则可以使用“捕捉点重合的项目”“在先前找到的同一组合对象中的项目”规则,以减少所报告的装置与管道之间及装置内部的碰撞。
  • 如果您要检查管道与结构之间的主要碰撞,请使用“在同一文件的项目”“在先前找到的同一组合对象中的项目”规则,以避免在相同主题的文件中检查碰撞,并在一个主题与多个零件组成的复合对象相交时仅报告单个碰撞结果。