焊接符号是视图专有的注释。 仅显示在其添加位置的视图中。
- 单击“注释”选项卡
“符号”面板 
(符号)。
- 在“类型选择器”中,选择适当的焊接符号。
可以放置下列类型的焊接符号:
- 圆角
- 外斜角
- 斜角
- V
- 后
- 外 V 角
- J
- 条形
- 方形
- U
- 在绘图区域中要显示符号的位置单击鼠标。
- 单击“修改”,然后选择焊接符号。
- 在“属性”选项板上,为焊接符号指定所需的属性。
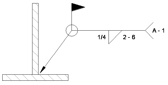
可以指定下列焊接符号属性:
- 顶部符号类型、大小和长度
- 底部符号类型、大小和长度
- 等高线符号类型
- 引线配置
- 尾和尾注释显示
- 围焊和现场焊接符号显示
- 左或右符号的方向
也可以通过选择焊接符号、然后单击相应的蓝色文本值来编辑各个焊接符号参数。 在编辑框中键入所需的值,然后按 Enter 键。
您也可在族编辑器中创建焊接符号并将其载入到项目中。 要创建焊接符号族,可使用“常规注释”样板。 当创建焊接符号族时,您会注意到只能在一个视图中查看该族。 与其他注释相同,它是视图专有的。