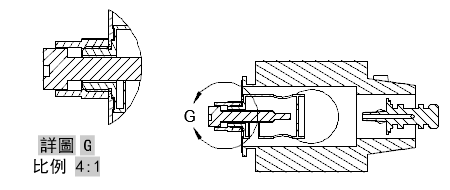
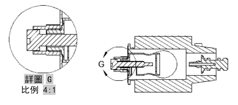
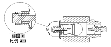
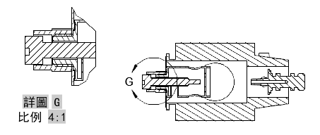
針對模型文件圖面視圖的某部分建立詳圖。
詳圖是包含部分其他圖面視圖的圖面視圖,並放大成較大的比例。您可以建立圓形或矩形詳圖。此指令僅在配置中支援,並且您必須有圖面視圖。
將顯示以下提示。
指定衍生自此詳圖的視圖。
在父系上指定中心點以設定詳圖邊界。
只有當您已從 Inventor 模型建立詳圖時,才會看到這個面板。建立詳圖時,僅可以編輯「設計視圖」的值。
指定詳圖的顯示選項。

指定詳圖的比例。依預設,詳圖的比例為父系視圖的兩倍,或為功能區「外觀」面板上之「比例」清單中次大的值。
指定要為詳圖設定的可見性選項。物件可見性選項適用於特定模型,且某些選項可能在所選模型和由該模型建立的視圖中並不適用。
打開或關閉干涉邊的可見性。當一個或多個實體本體彼此相交時會產生干涉邊。打開干涉邊的可見性時,程式會在實體本體相交處繪製一條線。
打開或關閉相切邊的可見性。相切邊會標記平面曲面與圓角邊緣之間的轉換,這最常被看成是圓角邊。
打開或關閉板金折彎實際範圍線的可見性。板金折彎實際範圍線指出在平面化的板金視圖中,折彎轉軸或折疊轉換的位置。
只有對應模型中具有已定義的平面化板金視圖時,才能使用此選項。
打開或關閉螺釘和攻牙孔上螺紋線的可見性。
打開或關閉簡報系統線的可見性。簡報系統線為 (簡報檔中) 分解視圖中的線段,可展示元件移入組合位置的方向。
指定詳圖視圖邊界類型。
如果「推論約束」為開啟狀態,則圓形詳圖邊界中心關連至父系視圖的點。如果「推論約束」為關閉狀態,則圓形詳圖邊界中心未關連至父系視圖的點。
如果「推論約束」為開啟狀態,則矩形詳圖邊界中心關連至父系視圖的點。如果「推論約束」為關閉狀態,則矩形詳圖邊界中心將不會關連至父系視圖的點。
程式會一律從圖面的下一個可用詳細標示決定。
指定是否顯示詳圖標示文字。




指定詳圖邊界和產生的詳圖的標示。
指定是否顯示詳圖標示文字。
在不強制結束指令的情況下,先將詳圖置於繪製區後再加以移動。
根據指令循環中選項出現的位置,回到前一個提示或完成指令。