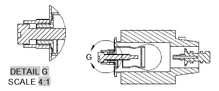
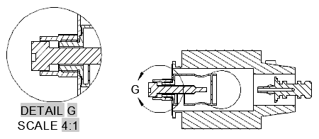
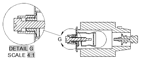
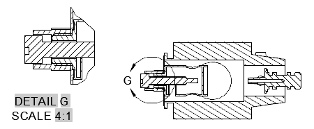
Creates a detail view of a portion of a model documentation drawing view.
A detail view is a drawing view that contains a portion of another drawing view and is magnified to a larger scale. You can have a circular or rectangular detail view. This command is only supported in the layout and you must have a drawing view.
The following prompts are displayed.
Specifies a view from which to derive the detail view.
Specifies the center point on the parent for the detail view boundary.
This panel is visible only when you have created a detail view from an Inventor model. When creating detail views, you can only edit the values for Design View.
Specifies the display options for the detail view.

Specifies the scale of the detail view. By default, the scale of detail view is twice of the parent view or the next larger value in the Scale list on the Appearance panel on the ribbon.
Specifies the visibility options to set for the detail view. Object visibility options are model specific and some options may not be available in the selected model, and in the view created of the model.
Turns visibility of interference edges on or off. Interference edges occur when one or more solid bodies intersect with each other. When the visibility of Interference Edges is turned on, the program draws a line where the solid bodies meet.
Turns visibility of tangent edges on or off. Tangent edges mark the transition between a flat surface and a rounded edge, most commonly seen as filleted edges.
Turns visibility of sheet metal bend extent lines on or off. Sheet metal bend extent lines indicate the location of transition about which a bend hinges or folds, in a flattened sheet metal view.
This option is available only if the corresponding model has a flattened sheet metal view defined in it.
Turns visibility of thread lines on screws and tapped holes on or off.
Turns visibility of presentation trails on or off. Presentation trails are lines in an exploded view (in a presentation file) that show the direction along which a components are moved into assembled position.
Specifies the detail view boundary type.
If Infer Constraint is on, the center of the circular detail boundary is associated to a point on the parent view. If Infer Constraint is off, the center of the circular detail boundary is not associated to a point on the parent view.
If Infer Constraint is on, the corner of the rectangular detail boundary is associated to a point on the parent view. If Infer Constraint is off, the corner of the rectangular detail boundary will not be associated to a point on the parent view.
The program always determines from the drawing, the next free detail label.
Specifies if the detail view label text is displayed or not.




Specifies the label for the detail boundary and the resulting detail view.
Specifies if the detail view label text is displayed.
Moves the detail view, after it is placed in the drawing area, without forcing you exit the command.
Goes back to the previous prompt, or completes the command, depending on where in the command cycle the option appears.