Ficha Contorno de detalle (cuadro de diálogo Modificar estilo de vista de detalle: AutoCAD Mechanical toolset)

Define las propiedades de la línea de contorno de detalle, la arista del modelo y la línea de conexión en las vistas de detalle.

Lista de opciones

Se muestran las siguientes opciones.

Línea de contorno

Color de línea
Establece el color de la línea de contorno de detalle. Si hace clic en Seleccionar color (en la parte inferior de la lista Color), aparecerá el cuadro de diálogo Seleccionar color. También puede introducir el nombre o el número de un color.
Nota: Si selecciona el color denominado "Por NombreNormaDibujoActual", el color de la línea de contorno de detalle se obtiene del cuadro de diálogo Parámetros de propiedades de objetos. Esta opción solo está disponible para los estilos de vista de detalle de AutoCAD Mechanical toolset.
Tipo de línea
Establece el tipo de línea de contorno de detalle. Si hace clic en Otro, se muestra el cuadro de diálogo Seleccionar tipo de línea.
Nota: Si selecciona el tipo de línea denominado "Por NombreNormaDibujoActual", el tipo de línea se obtiene del cuadro de diálogo Parámetros de propiedades de objetos. Esta opción solo está disponible para los estilos de vista de detalle de AutoCAD Mechanical toolset.
Grosor de línea
Establece el grosor de línea del contorno de detalle.
Nota: Si selecciona el color denominado "Por NombreNormaDibujoActual", el grosor de la línea de contorno de detalle se obtiene del cuadro de diálogo Parámetros de propiedades de objetos. Esta opción solo está disponible para los estilos de vista de detalle de AutoCAD Mechanical toolset .

Arista del modelo

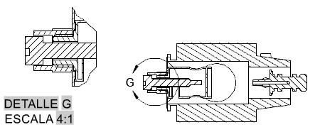
Suave
Establece las líneas de corte de los modelos de las vistas de detalle que se van a suavizar.
Se aplica a las vistas de detalle de documentación del modelo Se aplica a las vistas de detalle AMDETAIL
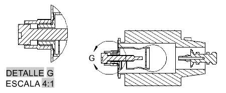
Suave con borde
Muestra un borde alrededor de las vistas de detalle y establece las líneas de corte en los modelos que aparecen en las vistas de detalle como suaves.
Se aplica a las vistas de detalle de documentación del modelo Se aplica a las vistas de detalle AMDETAIL
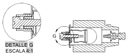
Suave con línea de conexión
Muestra una línea de conexión entre el límite detallado y el contorno de la vista de detalle. Además, muestra un borde alrededor de las vistas de detalle y establece las líneas de corte de los modelos que se muestran en las vistas de detalle como suaves.
Se aplica a las vistas de detalle de documentación del modelo Se aplica a las vistas de detalle AMDETAIL
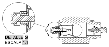
Irregular
Establece las líneas de corte de los modelos de las vistas detallas como irregulares.
Se aplica a las vistas de detalle de documentación del modelo Se aplica a las vistas de detalle AMDETAIL
Nota: Las vistas de detalle AMDETAIL no admiten líneas de corte irregulares. Cuando se selecciona esta opción, las vistas de dibujo AMDETAIL se comportan como si la opción Suave estuviese seleccionada.
Color de línea
Establece el color del límite detallado. Si hace clic en Seleccionar color (en la parte inferior de la lista Color), aparecerá el cuadro de diálogo Seleccionar color. También puede introducir el nombre o el número de un color.
Nota: Si selecciona el color denominado "Por NombreNormaDibujoActual", el color de la línea de límite detallado se obtiene del cuadro de diálogo Parámetros de propiedades de objetos. Esta opción solo está disponible para los estilos de vista de detalle de AutoCAD Mechanical toolset.
Tipo de línea
Establece el tipo de línea de límite detallado. Si hace clic en Otro, se muestra el cuadro de diálogo Seleccionar tipo de línea.
Nota: Si selecciona el tipo de línea denominado "Por NombreNormaDibujoActual", el tipo de línea de límite detallado se obtiene del cuadro de diálogo Parámetros de propiedades de objetos. Esta opción solo está disponible para los estilos de vista de detalle de AutoCAD Mechanical toolset.
Grosor de línea
Establece el grosor de línea del borde de la vista de detalle.
Nota: Si selecciona el tipo de línea denominado "Por NombreNormaDibujoActual", el grosor de línea de límite detallado se obtiene del cuadro de diálogo Parámetros de propiedades de objetos. Esta opción solo está disponible para los estilos de vista de detalle de AutoCAD Mechanical toolset.

Línea de conexión

Color de línea
Establece el color de la línea que conecta el límite detallado con el contorno de la vista de detalle. Si hace clic en Seleccionar color (en la parte inferior de la lista Color), aparecerá el cuadro de diálogo Seleccionar color. También puede introducir el nombre o el número de un color.
Nota: Si selecciona el color denominado "Por NombreNormaDibujoActual", el color de la línea de conexión se obtiene del cuadro de diálogo Parámetros de propiedades de objetos. Esta opción solo está disponible para los estilos de vista de detalle de AutoCAD Mechanical toolset.
Tipo de línea
Establece el tipo de línea de la línea de conexión. Si hace clic en Otro, se muestra el cuadro de diálogo Seleccionar tipo de línea.
Nota: Si selecciona el tipo de línea denominado "Por NombreNormaDibujoActual", el tipo de línea de conexión se obtiene del cuadro de diálogo Parámetros de propiedades de objetos. Esta opción solo está disponible para los estilos de vista de detalle de AutoCAD Mechanical toolset.
Grosor de línea
Establece el grosor de línea de la línea de conexión.
Nota: Si selecciona el tipo de línea denominado "Por NombreNormaDibujoActual", el grosor de línea de conexión se obtiene del cuadro de diálogo Parámetros de propiedades de objetos. Esta opción solo está disponible para los estilos de vista de detalle de AutoCAD Mechanical toolset.

Restablecer valores por defecto

Restablece todos los valores por defecto de la norma de dibujo y la revisión en la que se basa el estilo. Este botón solo se muestra para los estilos de vista de detalle de AutoCAD Mechanical toolset.