AutoCAD Mechanical toolset propose 11 types de symboles à insérer dans un dessin.
Les symboles pris en charge sont les suivants :
La norme de dessin définit les caractéristiques et le comportement de chaque symbole. Pour modifier ces caractéristiques, modifiez les éléments de la norme. Vous pouvez accéder aux éléments de la norme dans l'onglet AM:Normes de la boîte de dialogue Options.
Comportement d'attachement
Lors de sa création, un symbole peut être attaché à un objet. Par la suite, lorsque vous déplacez l'objet, le symbole attaché l'accompagne.
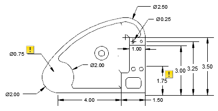
Les symboles peuvent être détachés d'un objet lorsque le point d'attache n'est plus valable. Par exemple :

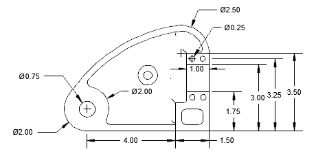
Avant une mise à jour

Après une mise à jour
Si le moniteur d'annotations est activé, il recherche les annotations détachées et les signale avec un badge. Cliquez sur le badge pour afficher un menu contenant des options spécifiques à l'annotation.
Création de lignes de repère
Si vous attachez un symbole à un arc ou à une spline, le symbole force le premier segment de ligne de repère à être perpendiculaire à l'objet attaché. Vous pouvez modifier ce comportement en appuyant sur la touche permettant d'activer ou de désactiver le mode orthogonal de la ligne de repère du symbole (MAJ + F par défaut) lorsque vous déplacez le réticule.
Dans la plupart des cas, attacher un symbole à une ligne vous oblige à rendre le premier segment de ligne de repère perpendiculaire à l'objet attaché. Pour les symboles qui ne présentent pas ce comportement, si vous activez le repérage d'accrochage aux objets, AutoCAD Mechanical toolset affiche des trajectoires d'alignement perpendiculaires de manière à les repérer.
Comportement lors de la modification à l'aide des poignées du point de départ de la ligne de repère
Si vous faites glisser le point de départ d'une ligne de repère, le symbole entier se déplace.

Vous pouvez modifier ce comportement en appuyant sur la touche Activer/désactiver la ligne de repère du symbole en mode Etirer (MAJ + G par défaut) lorsque vous déplacez les réticules. Dans ce mode, le symbole ne se déplace pas. A la place, le premier segment de la ligne de repère s'étire.

Bibliothèques de symboles
Certains symboles permettent d'enregistrer dans une bibliothèque des symboles entièrement configurés. Vous pouvez ensuite directement les insérer dans un dessin à partir du ruban, sans spécifier de valeurs, ou en ne spécifiant que les valeurs du symbole enregistré.
Modifier les symboles
Pour modifier le texte d'un symbole déjà inséré dans un dessin, cliquez deux fois sur le symbole. Cliquez deux fois sur la ligne de repère pour afficher l'onglet Ligne de repère de la boîte de dialogue des paramètres du symbole.
| Symbole | Premier segment de ligne de repère perpendiculaire à l'arc attaché | Premier segment de ligne de repère perpendiculaire à la ligne attachée | Bibliothèque de symboles | Repérage par moniteur d'annotations ? | Support MAJ+G |
|---|---|---|---|---|---|
|
Identificateur de référence |
Oui | Oui | Oui | ||
|
Référence partielle |
Oui | ||||
|
Arête |
Oui | Oui | Oui | Oui | |
|
Tolérancement géométrique |
Oui | Oui | Oui | Oui | Oui |
|
Identificateur de fonction |
Oui | Oui | Oui | Oui | |
|
Note de ligne de repère |
Oui | Oui | Oui | Oui | |
|
Dépouille et inclinaison |
Oui | Oui | Oui | ||
|
Etat de surface |
Oui | Oui | Oui | Oui | |
|
Soudure |
Oui | Oui | Oui | Oui | |
|
Marquage/Tampon |
Oui | Oui | Oui | Oui | |
|
Liaison indémontable |
Oui | Oui | Oui | Oui |