Információk a méretek közötti távolság beállításáról

Automatikusan beállíthatja a meglévő párhuzamos hossz- és szögméreteket egy rajzban úgy, hogy azok a méretvonalon egyenlő távolságra legyenek egymástól, vagy illeszkedjenek egymáshoz.

A MÉRETBVONAL parancs a DIMDLI rendszerváltozó segítségével hoz létre egymástól egyenlő távolságra lévő méreteket, de a méretek elhelyezését követően a rendszerváltozó értékének módosítása nincs hatással a méretek térközére. Ha módosítja a szöveg méretét vagy a méretek léptékezését, azok az eredeti helyükön maradnak, ami problémákat okozhat az átfedésben lévő méretvonalak és -szöveg esetében.

Az átfedésben lévő vagy egymástól nem egyenlő távolságra lévő hossz- és szögméretek térközét a MÉRETKÖZ paranccsal állíthatja be. A kiválasztott méreteknek hossz- vagy szögméretnek, azonos típusúnak (elforgatott vagy illesztett), egymással párhuzamosnak vagy koncentrikusnak kell lenniük, és egymás segédvonalain kell elhelyezkedniük. A hossz- és szögméretek illesztéséhez 0 értékű térközt is megadhat.

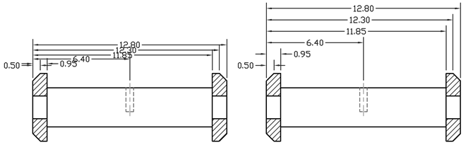
A következő ábrán egymástól nem egyenlő távolságra lévő párhuzamos hosszméretek, illetve a MÉRETKÖZ paranccsal egymástól egyenlő távolságra elhelyezett hosszméretek láthatók.