Crea una vista di dettaglio di una parte di una vista 2D della documentazione modello.
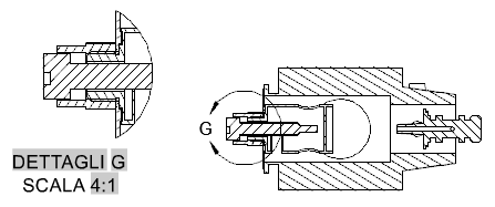
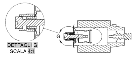
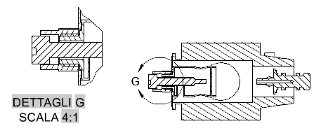
Una vista di dettaglio è costituita da una vista 2D contenente una parte di un'altra vista 2D ingrandita di un fattore di scala superiore. È possibile ottenere una vista di dettaglio circolare o rettangolare. Questo comando è supportato solo nel layout e richiede una vista 2D.
Vengono visualizzati i seguenti messaggi di richiesta:
Specifica una vista dalla quale è possibile ottenere la vista di dettaglio.
Specifica il punto centrale della vista principale per il contorno della vista di dettaglio.
Questo gruppo è visibile solo quando è stata creata una vista di dettaglio da un modello Inventor. Durante la creazione di viste di dettaglio è possibile modificare solo i valori per la vista 2D.
Consente di specificare le opzioni di visualizzazione per la vista di dettaglio.

Consente di specificare la scala della vista di dettaglio. Per default, la scala della vista di dettaglio è il doppio di quella della vista principale o il successivo valore più alto nell'elenco Scala nel gruppo Aspetto della barra multifunzione.
Specifica le opzioni di visibilità da impostare per la vista di dettaglio. Le opzioni di visibilità dell'oggetto sono specifiche del modello e alcune opzioni potrebbero non essere disponibili nel modello selezionato e nella vista del modello creata.
Attiva o disattiva la visibilità degli spigoli con interferenza. Gli spigoli con interferenza si verificano quando uno o più corpi solidi si intersecano. Quando la visibilità degli spigoli con interferenza è attivata, viene disegnata una linea nel punto in cui i corpi solidi si incontrano.
Attiva o disattiva la visibilità degli spigoli tangenti. Gli spigoli tangenti contrassegnano la transizione tra una superficie piana e uno spigolo arrotondato, più comunemente visti come spigoli raccordati.
Attiva o disattiva la visibilità delle linee di estensione della piega della lamiera. Le linee di estensione della piega della lamiera indicano la posizione della transizione intorno alla quale si incardina o si piega una vista lamiera appiattita.
Questa opzione è disponibile solo se per il modello corrispondente è definita una vista lamiera appiattita.
Attiva o disattiva la visibilità delle linee di filettatura su viti e fori filettati.
Attiva o disattiva la visibilità delle tracce di presentazione. Le tracce di presentazione sono linee in una vista esplosa (in un file di presentazione) che mostrano la direzione lungo la quale vengono spostati i componenti in posizione assemblata.
Specifica il tipo di contorno della vista di dettaglio.
Se la Deduzione di vincoli è attivata, il centro del contorno di dettaglio circolare è associato a un punto nella vista principale. Se la Deduzione di vincoli è disattivata, il centro del contorno di dettaglio circolare non è associato a un punto nella vista principale.
Se la Deduzione di vincoli è attivata, l'angolo del contorno di dettaglio rettangolare è associato a un punto nella vista principale. Se la Deduzione di vincoli è disattivata, l'angolo del contorno di dettaglio rettangolare non verrà associato a un punto nella vista principale.
Il programma determina sempre dal disegno la successiva etichetta dettagli libera.
Specifica se il testo dell'etichetta della vista di dettaglio viene visualizzato o meno.




Specifica l'etichetta per il contorno di dettaglio e la vista di dettaglio risultante.
Specifica se il testo dell'etichetta della vista di dettaglio viene visualizzato.
Sposta la vista di dettaglio dopo che è stata posizionata nell'area di disegno, senza forzare la chiusura del comando.
Torna al messaggio di richiesta precedente o completa il comando, a seconda del punto del ciclo di comando in cui viene visualizzata l'opzione.