モデル ドキュメント図面ビューの一部の詳細ビューを作成します。
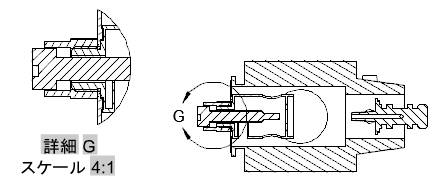
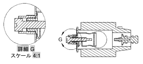
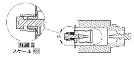
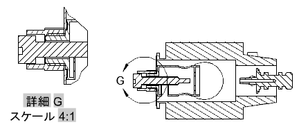
詳細ビューは、他の図面ビューの一部分を含み、大きな尺度に拡大された図面ビューです。詳細ビューは円形状または矩形状にすることができます。このコマンドは、レイアウトでのみサポートされ、先に図面ビューを作成しておく必要があります。
次のプロンプトが表示されます。
詳細ビューの派生元のビューを指定します。
詳細ビュー境界の中心点を、親ビュー上で指定します。
このパネルは、Inventor モデルから詳細ビューを作成したときにのみ表示されます。詳細ビューを作成するときは、デザイン ビューでのみ値を編集できます。
詳細ビューの表示オプションを指定します。

詳細ビューの尺度を指定します。既定では、詳細ビューの尺度は親ビューの 2 倍またはリボンの[外観]パネルの[尺度]リスト内の次に大きな値になります。
詳細ビューに設定する可視性のオプションを指定します。オブジェクトの可視性オプションはモデルごとに異なっており、選択したモデルや、モデルの作成したビューで使用できないオプションもあります。
干渉エッジの表示/非表示を切り替えます。干渉エッジは、1 つまたは複数のソリッド ボディが互いに交差している場合に発生します。干渉エッジの表示設定がオンの場合、ソリッド ボディが交わる位置に線が描画されます。
接線エッジの表示/非表示を切り替えます。接線エッジは、フィレットされたエッジで最もよく見られる、平坦なサーフェスと丸みのあるエッジ間の遷移をマークします。
シート メタルの曲げ範囲の線の表示/非表示を切り替えます。シート メタルの曲げ範囲の線は、平面展開したシート メタル ビューで、曲げヒンジや折り曲げの移行場所を示します。
このオプションは、定義されている平坦化シート メタル ビューが対応するモデルに存在する場合にのみ使用できます。
ねじやタップ穴のねじ山線の表示/非表示を切り替えます。
プレゼンテーション トレールの表示/非表示を切り替えます。プレゼンテーション トレールは、分解図(プレゼンテーション ファイル)での、コンポーネントが組み付け位置に移動する方向を示す線です。
詳細ビュー境界の種類を指定します。
[推測拘束]がオンの場合、円形詳細境界の中心が、親ビュー上の点に関連付けられます。[推測拘束]がオフの場合、円形詳細境界の中心は、親ビュー上の点に関連付けられません。
[推測拘束]がオンの場合、矩形詳細境界のコーナーが、親ビュー上の点に関連付けられます。[推測拘束]がオフの場合、矩形詳細境界のコーナーは、親ビュー上の点に関連付けられません。
プログラムは常に、次に使用可能な詳細ラベルを図面から決定します。
詳細ビューのラベル文字を表示するかどうかを指定します。




詳細境界とその詳細ビューのラベルを指定します。
詳細ビューのラベル文字を表示するかどうかを指定します。
詳細ビューを作図領域に配置した後、コマンドを終了せずに、詳細ビューを移動します。
コマンドが循環的にオプションを表示する場所かどうかに応じて、直前のプロンプトに戻るか、コマンドを終了します。