溶接記号はビュー固有の注釈です。それらを追加したビューにのみ表示されます。
- [注釈]タブ
[記号]パネル 
(記号)をクリックします。
- タイプ セレクタで、適切な溶接記号を選択します。
次のタイプの溶接記号を配置することができます。
- フィレット
- フレア レ 形
- 斜角
- V
- 背面
- フレア V 形
- J
- スロット
- 四角
- U
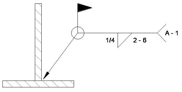
- 作図領域で記号を表示する位置をクリックします。
- [修正]をクリックし、次に溶接記号を選択します。
- プロパティ パレットで、溶接記号の目的とするプロパティを指定します。
次の溶接記号プロパティを指定することができます。
- 上部記号のタイプ、サイズ、および長さ
- 下部記号のタイプ、サイズ、および長さ
- 等高線記号のタイプ
- 引出線設定
- テールとテール注記の表示
- 溶接全周とフィールド溶接記号の表示
- 左右の記号の向き
溶接記号を選択してから適切な青色の文字の値をクリックすると、さまざまな溶接記号パラメータを編集することができます。編集ボックスに値を入力して、[Enter]を押します。
ファミリ エディタで溶接記号ファミリを作成し、プロジェクトにロードすることもできます。溶接記号ファミリを作成するには、[一般注釈]テンプレートを使用します。作成した溶接記号ファミリは、1 つのビューのみで表示できます。その他の注釈と同様に、これはビュー固有です。