일반 치수
직교 뷰 또는 등각투영 뷰에서 일반 치수를 작성할 수 있습니다. 선택하는 형상에 따라, 치수 유형과 상황에 맞는 메뉴에 제공되는 옵션이 결정됩니다.
치수 텍스트를 재지정할 수 있으며 이는 모형 형상에 영향을 주지 않습니다.
치수 정밀도 및 공차를 변경하고 지시선 및 화살촉을 편집하거나 치수 텍스트의 컨텐츠를 수정할 수 있습니다.

기준선 치수 및 기준선 치수 세트
원점(기준선)과 선택한 모서리 또는 점 간의 직교 거리를 표시하는 다중 치수를 작성합니다. 선택한 첫 번째 모서리 또는 점은 원점 형상입니다. 개별 치수 또는 치수 세트를 작성할 수 있습니다.

세로좌표 치수 및 세로좌표 치수 세트
단일 프로세스에서 여러 세로좌표 치수를 작성합니다. 세로좌표 치수는 배치하는 대로 자동으로 정렬됩니다. 치수 텍스트가 겹치는 경우 치수 위치 또는 치수 스타일을 수정할 수 있습니다. 개별 치수 또는 치수 세트를 작성할 수 있습니다.

치수 검색
모든 모형 치수를 표시하거나 선택한 부품 또는 피쳐에 관련된 치수만을 표시합니다. 도면 뷰에서 유지 관리할 치수를 선택합니다.
뷰 평면에 평행한 모형 치수만을 사용할 수 있습니다.
모형 치수를 수정하여 부품 파일을 처리할 수 있습니다.

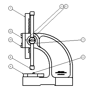
중심 표식
중심 표식이 선택한 호 또는 원에 추가됩니다. 중심 표식 치수보조선은 형상에 맞게 자동으로 크기가 지정됩니다.
중심 표식은 개별적으로 추가하거나 자동화된 중심선 명령을 사용하여 추가할 수 있습니다.

중심선
선의 중간점 또는 호나 원의 중심점에서 선택한 모서리의 중심선을 작성합니다. 피쳐가 원형 패턴을 형성할 때 원형 중심선을 작성합니다.
Autodesk Inventor에서는 세 가지 유형의 중심선(이등분, 중심 패턴 및 축)을 지원합니다.

구멍/스레드 주
구멍 또는 스레드 주는 모형에 구멍, 스레드 및 원통형 절단부 돌출 피쳐의 정보를 표시합니다. 구멍 주의 스타일은 선택한 피쳐 유형에 따라 다릅니다.

모따기 주
모따기 주는 선택한 모형 모서리 또는 스케치된 선에 대한 거리 및 각도 측정값을 포함합니다.
뷰 및 스케치에서 모따기 주를 각도 모서리에 부착할 수 있습니다. 다른 본체, 모형 또는 스케치의 모따기 모서리 및 참조 모서리는 동일한 뷰의 일부여야 합니다.

기호
표면 텍스처, 용접, 형상 공차, 피쳐 식별자, 데이텀 대상 및 데이텀 식별자 기호와 같은 다양한 유형의 기호를 사용할 수 있습니다. 기호는 지시선이 있게 또는 지시선이 없게 작성합니다.
스케치 기호는 도면 자원에서 정의되고 표준 기호처럼 배치됩니다. 이러한 기호는 Autodesk Inventor에서 사용할 수 없는 사용자 기호를 정의하는 데 사용됩니다.

절곡부 주
절곡부 주는 판금 절곡부, 윤곽선 롤 및 표면 중심선에 가공 정보를 추가합니다. 절곡부 주는 판금 부품의 플랫 패턴 뷰에 추가할 수 있습니다.
절곡부 주는 선택한 절곡부 중심선과 연관됩니다. 절곡부 주는 선택한 절곡부 중심선 위에 기본 배치됩니다. 절곡부 주는 치수 스타일의 원점 간격띄우기 값에 의한 간격띄우기 및 중심선의 중간점에 대한 절곡부 텍스트를 구속합니다.

펀치 주
펀치 주에는 펀치 피쳐에 관련된 데이터가 포함됩니다(예: 펀치 ID, 각도, 방향, 깊이, 수량 주 등).
펀치 주는 판금 부품의 플랫 패턴 뷰에 추가할 수 있습니다.

용접 모양
용접 모양은 2D 뷰에서 용접 피쳐를 나타내는 데 사용됩니다. 용접 모양 명령을 사용하여 용접 모양을 수동으로 추가할 수 있습니다. 상황에 맞는 메뉴에서 모형 주석 가져오기 > 용접 주석 가져오기를 사용하여 용접 피쳐에서 자동으로 용접 모양을 추가합니다.

필렛
필렛은 용접 비드의 끝을 가리키는 채워진 영역을 나타내는 데 사용됩니다. 필렛 명령을 사용하여 수동으로 필렛을 추가하거나 모형 주석 가져오기 > 용접 주석 가져오기를 사용하여 용접 모형에서 자동으로 필렛을 추가할 수 있습니다.
객체 특성을 통해 필렛 모양을 변경합니다.

품번기호
품번기호는 부품 리스트에 나열된 항목을 식별하는 주석 태그입니다. 품번기호는 개별적으로 배치하거나 도면 뷰의 모든 구성요소에 대해 자동으로 배치할 수 있습니다. 부품 리스트에 사용자 부품을 추가한 후 이 부품에 품번기호를 추가할 수도 있습니다.
품번기호 쉐이프 및 값은 상황에 맞는 메뉴의 품번기호 편집을 사용하여 재지정할 수 있습니다. 상황에 맞는 메뉴의 품번기호 부착 옵션을 사용하여 품번기호를 결합하여 단일 지시선을 사용할 수 있습니다.

부품 리스트
부품 리스트는 조립품 BOM에 저장된 데이터를 표시합니다. 부품 리스트에 다른 열이나 재지정된 값을 포함하도록 수정할 수 있습니다. BOM 데이터는 도면 파일 또는 조립품 파일에서 수정할 수 있습니다.
사용자 부품은 페인트 또는 그리스와 같이 모델링되지 않은 항목을 포함하도록 부품 리스트에 추가할 수 있습니다.

테이블
일반, 구성 또는 절곡부 테이블을 작성할 수 있습니다.
일반 테이블은 행 및 열의 기본 개수를 가질 수 있습니다. 또는 행 및 열의 크기를 사용자화할 수 있습니다. 일반 테이블은 .xls, .xlsx 또는 .csv 파일의 외부 데이터를 참조할 수 있습니다. 또는 필요한 다른 유형의 데이터를 입력할 수 있습니다.
iPart 및 iAssembly 도면에서 구성 테이블 행은 팩토리 멤버를 나타냅니다. 구성 테이블에 포함할 열(예: 멤버 사이에서 서로 다른 값 및 제외 상태)을 지정할 수 있습니다.
판금 부품이 테이블의 소스인 경우 절곡부 테이블이 작성됩니다. 절곡부 테이블에는 각도 및 반지름과 같은 절곡부 정보가 포함됩니다.

구멍 테이블
구멍 테이블은 모형에서 구멍 피쳐의 크기 및 위치를 표시합니다. 구멍 테이블이 추가되면 각 개별 구멍이 구멍 태그를 받고 해당 행이 테이블에 추가됩니다.
또한 테이블을 편집하여 중심 표식, 펀치 피쳐 및 원통형 절단부 돌출을 구멍 테이블에 추가할 수 있습니다.

리비전 테이블 및 태그
리비전 테이블에는 설계 변경 사항에 대한 정보가 포함됩니다. 리비전 테이블은 전체 도면 파일 또는 단일 시트에 대해 작성할 수 있습니다.
리비전 태그는 설계 리비전에 의해 변경된 객체를 표시합니다. 태그의 기본 리비전 수준은 테이블의 최신 리비전입니다. 태그의 리비전 수준은 상황에 맞는 메뉴를 사용하여 변경할 수 있습니다.

텍스트 또는 지시선 텍스트
텍스트를 사용하여 도면에 일반 주를 추가합니다. 일반 주는 도면의 뷰, 기호 또는 기타 객체에 부착되지 않습니다.
지시선 텍스트를 사용하여 도면의 객체에 주를 추가합니다. 뷰의 형상에 지시선을 부착하면 뷰가 이동하거나 삭제될 때 그 메모도 이동하거나 삭제됩니다.
