평면도에서와 동일한 도구 및 방법을 사용하여 입면도에서 배관을 그립니다. 그러나 다른 관점에서 배치를 보기 때문에 결과가 예상과 다를 수 있습니다. 입면도 평면에서 그린 배관은 입면도 평면을 기준으로 그려집니다. 입면 뷰에서 그릴 때 3D 뷰 또는 평면 뷰에 작업 결과가 표시되도록 하십시오. 다음 사항을 유념하십시오.
새 배관은 입면도에 대한 (전경에 있는) 뷰 평면과 가장 가까운 사용 가능한 커넥터에 연결됩니다. 사용 가능한 커넥터는 다른 커넥터에 아직 연결되지 않고 입면도 경계 내에 있는 커넥터입니다. (입면뷰의 유일한 경계는 전경에 있는 뷰 평면입니다.)
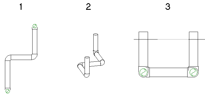
다음 예제에서는 기존 배관(1)의 두 커넥터를 모두 사용할 수 있습니다. 입면 뷰(2)에서 추가된 수평 세그먼트는 평면 뷰(3)에 표시된 대로 뷰 평면에서 가장 가까운 커넥터에 연결됩니다.

뷰 범위 내 커넥터가 두 개인 경우
뷰 범위 내에 사용 가능한 커넥터가 하나만 있는 경우 이 커넥터가 사용됩니다. 다음 예에서는 뷰 평면에서 가장 가까운 커넥터가 이미 사용되었습니다(1). 입면도(2)에서 새 배관이 추가된 경우 배관은 사용 가능한 유일한 커넥터를 사용하는 기존 배관(3)의 맨 끝에 추가됩니다.

뷰 범위 내 사용 가능한 커넥터가 한 개뿐인 경우
뷰 범위 내에 사용 가능한 커넥터가 없는 경우 새 파이프는 입면뷰 평면과 기존 파이프의 교차점에서 T자형과 연결됩니다. 배관 중심선은 정확하게 뷰 평면 위에 배치됩니다.
다음 예에서는 입면도에서 2개의 수직 배관 세그먼트가 배관 구획에 추가되었습니다. 원래 배관은 평면도(1), 연관된 3D 뷰(2) 및 남측면도(3)에 표시됩니다.

결과로 생성된 수직 세그먼트가 평면도(1), 연관된 3D 뷰(2) 및 남측면도(3)에서 어떻게 표시되는지 (왼쪽에서 오른쪽으로) 보여줍니다.


이 경우 배관을 남측면도(1)에 그리면 평면도(2)와 3D 뷰(3)에 표시된 대로 Revit에서 보일러 커넥터와 엘보 간에 짧은 배관 세그먼트를 추가합니다.
