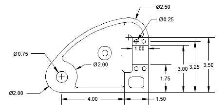
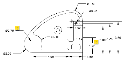
Program AutoCAD Mechanical toolset oferuje 11 rodzajów symboli, które można wstawiać do rysunku.
Obsługiwane symbole:
Norma rysunkowa definiuje zachowanie i charakterystykę każdego z symboli. Aby zmienić charakterystykę, należy przeprowadzić edycję elementów normy. Dostęp do elementów normy można uzyskać na karcie AM:Standardy w oknie dialogowym Opcje.
Zachowanie podczas dołączania
Podczas tworzenia symbolu można dołączyć go do obiektu. Następnie, jeśli obiekt zostanie przesunięty, symbol przesunie się razem z nim.
Symbole można odłączyć od obiektu, gdy punkt dołączenia nie jest już poprawny. Na przykład

Przed zdarzeniem aktualizacji

Po zdarzeniu aktualizacji
Gdy monitor opisu jest włączony, śledzi odłączane opisy i podświetla odłączone opisy identyfikatorem. Kliknięcie identyfikatora powoduje wyświetlenie menu zawierającego opcje właściwe dla opisu.
Zachowanie tworzenia odniesienia
W przypadku dołączenia symbolu do łuku lub splajnu nastąpi wymuszenie prostopadłości pierwszego segmentu linii odniesienia względem dołączonego obiektu. To zachowanie można nadpisać, naciskając podczas przesuwania krzyży nitkowych skrót klawiaturowy Przełącz tryb prostokątny linii odniesienia symbolu (domyślnie Shift + F).
W przypadku dołączania symbolu do linii dla niektórych symboli pierwszy segment odniesienia musi być prostopadły do dołączanego obiektu. W przypadku symboli, które nie wykazują tego zachowania, po włączeniu śledzenia lokalizacji względem obiektu w programie AutoCAD Mechanical toolset są wyświetlane prostopadłe ścieżki trasowania w celu śledzenia do nich.
Zachowanie podczas edycji uchwytami punktu początkowego linii odniesienia
Jeżeli przeciągniesz punkt początkowy linii odniesienia, przesunie się cały symbol.

To zachowanie można zmienić, naciskając podczas przesuwania krzyży nitkowych skrót klawiaturowy polecenia Przełącz linię odniesienia symbolu w tryb rozciągania (domyślnie SHIFT+G). W tym trybie symbol nie przesuwa się. Zamiast tego rozciągany jest pierwszy segment linii odniesienia.

Biblioteki symboli
Niektóre symbole umożliwiają zapisanie w pełni skonfigurowanych symboli w bibliotece. Następnie można bezpośrednio wstawić je do rysunku ze wstążki, eliminując potrzebę określania wartości, lub tylko określić wartości tworzące zapisany symbol.
Edycja symboli
Aby zmodyfikować tekst symbolu już wstawionego do rysunku symbolu, należy kliknąć symbol dwukrotnie. Dwukrotne kliknięcie linii odniesienia spowoduje wyświetlenie karty linii odniesienia okna dialogowego ustawień symbolu.
| Symbol | Pierwszy segment linii odniesienia prostopadły do dołączonego łuku | Pierwszy segment linii odniesienia prostopadły do dołączonej linii | Biblioteka symboli | Śledzone przez Monitor opisu? | Obsługa skrótu klawiaturowego SHIFT+G |
|---|---|---|---|---|---|
|
Identyfikator danych |
Tak | Tak | Tak | ||
|
Cząstkowy element odniesienia |
Tak | ||||
|
Krawędź |
Tak | Tak | Tak | Tak | |
|
Tolerancja kształtu i położenia |
Tak | Tak | Tak | Tak | Tak |
|
Symbol identyfikujący element |
Tak | Tak | Tak | Tak | |
|
Opis linii odniesienia |
Tak | Tak | Tak | Tak | |
|
Zbieżność i pochylenie |
Tak | Tak | Tak | ||
|
Chropowatość powierzchni |
Tak | Tak | Tak | Tak | |
|
Spoiny |
Tak | Tak | Tak | Tak | |
|
Oznaczanie/stemplowanie |
Tak | Tak | Tak | Tak | |
|
Połączenie nierozłączne |
Tak | Tak | Tak | Tak |