Okno dialogowe służy do automatycznej definicji odsunięć dla prętów konstrukcji. Odsunięcie określane jest za pomocą przesunięcia osi pręta do skrajnych wymiarów przekroju. Okno dialogowe jest otwierane po naciśnięciu przycisku Położenie przekroju (lub Odsunięcie osi) znajdującego się w oknie dialogowym Nowe odsunięcie.

W powyższym oknie dialogowym określone może zostać odsunięcie osi podłużnej pręta w stosunku do wymiarów poprzecznych przekroju. Wybór położenia osi następuje poprzez kliknięcie w odpowiedni przycisk wyboru znajdujący się na szkicu przekroju. Pod szkicem przekroju pręta pojawia się opis położenia przekroju pręta, tzn. przesunięcie osi oraz charakterystyka położenia przekroju opisująca wartość przesunięcia osi w lokalnym układzie współrzędnych.
Po naciśnięciu przycisku OK odpowiedni tekst opisujący przesunięcie osi pojawia się także w oknie dialogowym Nowe odsunięcie.
Przykład definicji odsunięcia automatycznego i efekt jego nadania na pręt konstrukcji został pokazany na poniższym rysunku.
Zdefiniowane odsunięcie automatyczne (rysunek poniżej) zostało nadane na pręt oznaczony numerem 2.
Odsunięcie względne jest dostępne tylko po wyborze definicji odsunięcia w lokalnym układzie współrzędnych (opcja lokalny). Można łączyć obie definicje odsunięcia w układzie lokalnym i w rezultacie uzyskać złożenie przesunięcia osi o wartość liczbową i względną. Natomiast nie jest możliwe złożenie odsunięcia względnego z odsunięciem zdefiniowanym w globalnym układzie współrzędnych. Po wybraniu opcji Globalny przycisk Położenie przekroju nie jest dostępny. Opcja Globalny jest dostępna tylko wtedy, gdy dla definicji opcji Lokalny wybrana została pozycja neutralna osi względem przekroju (brak przesunięcia osi).
Dla konstrukcji płaskich (2D) nie wszystkie pozycje odsunięcia są dostępne.
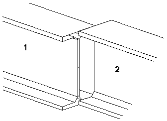
Dla konstrukcji przestrzennych (3D) należy zwrócić uwagę na to, że orientacja osi lokalnego układu współrzędnych zależy od położenia i orientacji elementu prętowego; stąd też takie samo odsunięcie zdefiniowane w układzie lokalnym może dać różny efekt w globalnym układzie współrzędnych. Zilustrowano to na rysunku przedstawionym poniżej. Dwa równoległe pręty mają różną orientację (początek pręta oznaczono numerem 1, a jego koniec numerem 2). Taka definicja prętów powoduje, że zwroty lokalnych osi x oraz y są przeciwne. W efekcie takie samo odsunięcie o wartość Vpy (czyli o połowę szerokości przekroju) w układzie lokalnym wywołuje przeciwne przesunięcie przekroju w układzie globalnym.

Patrz również: