Adicione cotas aos componentes individuais de legenda para torná-los mais descritivos.
É possível adicionar cotas a componentes individuais de legenda usando a ferramenta Cota.
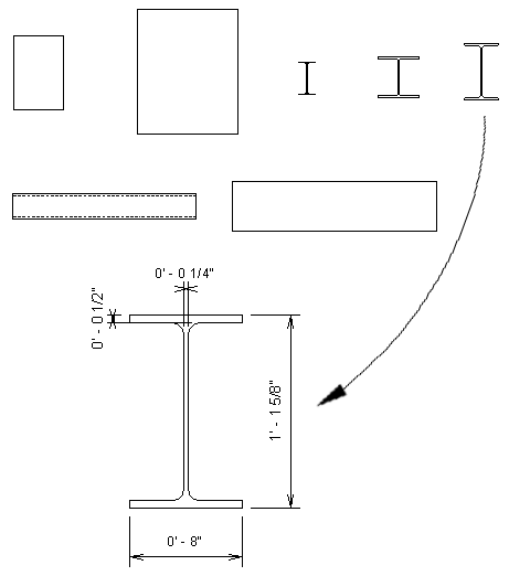
É possível cotar a maioria das linhas em um componente de legenda. No entanto, não é possível cotar para componentes hospedeiros, como paredes, tetos e pisos. Da mesma forma, não é possível cotar componentes de famílias de sistema em uma legenda.


