Изменения, внесенные в исходную 3D модель, не отражаются в видах чертежа, пока не будет выполнено обновление.
Если автоматическое обновление включено (значение системной переменной VIEWUPDATEAUTO = 1), виды чертежа обновляются автоматически:
Если автоматическое обновление отключено (системная переменная VIEWUPDATEAUTO = 0), виды чертежа не обновляются автоматически. Виды чертежа, для которых необходимо обновление, выделяются красными маркерами. На панели задач появляется всплывающее уведомление о том, что модель была изменена. После этого необходимо явно обновить устаревшие виды чертежа.

В зависимости от изменения в исходной модели вид чертежа может увеличиться или уменьшиться. Существуют два способа, с помощью которых можно закрепить вид на чертеже.

Пользователь может выбрать размещение по центру по ширине, чтобы размер увеличивался или уменьшался относительно центра.

Можно также выбрать параметр "фиксированный", который вынуждает неизменную геометрию модели оставаться в том местоположении, в котором она была до операции обновления. Часто это предпочтительнее, так как происходит меньшее смещение.
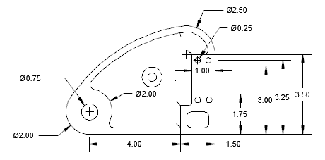
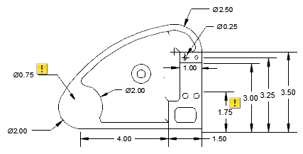
Если при обновлении удаляется ребро с присоединенной к нему аннотацией, она утрачивает ассоциативность. Аннотации, которые теряют ассоциативность, можно отслеживать с помощью монитора аннотаций.
Монитор аннотаций — это служба, которая отслеживает состояние аннотаций. Когда при обновлении аннотация теряет ассоциативность, отображается всплывающее уведомление с количеством затронутых аннотаций и значок монитора аннотаций на панели задач меняется с  на
 на  . Кроме того, монитор аннотаций отображает значок рядом с затронутыми аннотациями.
. Кроме того, монитор аннотаций отображает значок рядом с затронутыми аннотациями. 

Перед обновлением события

После обновления события
По щелчку значка отображается меню с параметрами, относящимися к соответствующей открепленной аннотации. Если монитор аннотаций выключается, значки исчезают.