Вкладка «Граница выносного элемента» диалогового окна «Изменить стиль выносного элемента» (AutoCAD Mechanical toolset)

Задание свойств линии границы выносного элемента, ребра модели и соединительной линии для видов выносных элементов.

Список параметров

Отображаются следующие параметры:

Линия границы

Цвет линии
Задание цвета линии границы выносного элемента. Если нажать "Выбор цвета" (в нижней части списка "Цвет"), откроется диалоговое окно "Выбор цвета". Кроме того, можно ввести имя или номер цвета.
Прим.: При выборе цвета с маркировкой "По ИмениТекущегоСтандартаОформления" цвет линии контура выносного элемента выбирается из диалогового окна "Настройки свойств объекта". Этот параметр доступен только для стилей выносных элементов AutoCAD Mechanical toolset.
Тип линий
Задание типа линии границы выносного элемента. Если нажать кнопку "Другое", отображается диалоговое окно "Выбор типа линий".
Прим.: Если выбран тип линий с меткой "По ИмяТекущегоСтандартаОформления", тип линии определяется в диалоговом окне "Настройки свойств объекта". Этот параметр доступен только для стилей выносных элементов AutoCAD Mechanical toolset.
Вес линий
Задание веса линии границы выносного элемента.
Прим.: При выборе веса линии с маркировкой "По ИмениТекущегоСтандартаОформления" выбирается из диалогового окна "Настройки свойств объекта". Этот параметр доступен только для стилей выносных элементов AutoCAD Mechanical toolset.

Ребро модели

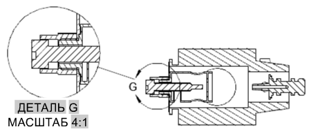
Сглаживание
Задание секущих линий на модели в выносных элементах со сглаживанием.
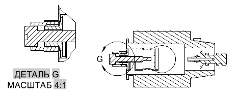
применяется для выносных элементов в документации модели применяется к выносным элементам AMDETAIL
Сглаженная с контуром
Отображение контура вокруг выносных элементов и задание секущих линий на модели в выносных элементах со сглаживанием.
применяется для выносных элементов в документации модели применяется к выносным элементам AMDETAIL
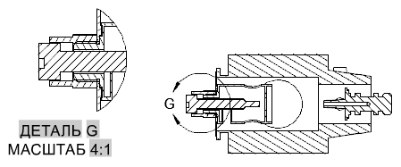
Сглаженная с соединительной линией
Отображение соединительной линии между границей детали и границей выносного элемента. Кроме того, отображение рамки вокруг выносных элементов и задание секущих линий на модели в выносных элементах со сглаживанием.
применяется для выносных элементов в документации модели применяется к выносным элементам AMDETAIL
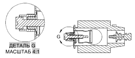
Ломаная
Задание ломаных секущих линий на модели в выносных элементах.
применяется для выносных элементов в документации модели применяется к выносным элементам AMDETAIL
Прим.: Выносные элементы AMDETAIL не поддерживают ломаные линии сечения. Если выбран этот параметр, виды чертежа AMDETAIL ведут себя так, как если бы параметр "Сглаживание" был выбран.
Цвет линии
Задание цвета границы выносного элемента. Если нажать "Выбор цвета" (в нижней части списка "Цвет"), откроется диалоговое окно "Выбор цвета". Кроме того, можно ввести имя или номер цвета.
Прим.: При выборе цвета с маркировкой "По ИмениТекущегоСтандартаОформления" цвет линии границы выносного элемента выбирается из диалогового окна "Настройки свойств объекта". Этот параметр доступен только для стилей выносных элементов AutoCAD Mechanical toolset.
Тип линий
Тип линий для границы выносных элементов. Если нажать кнопку "Другое", отображается диалоговое окно "Выбор типа линий".
Прим.: При выборе типа линии с маркировкой "По ИмениТекущегоСтандартаОформления" тип линии границы выносного элемента выбирается из диалогового окна "Настройки свойств объекта". Этот параметр доступен только для стилей выносных элементов AutoCAD Mechanical toolset.
Вес линий
Задание веса линии границы выносного элемента.
Прим.: При выборе типа линии с маркировкой "По ИмениТекущегоСтандартаОформления" вес линии границы выносного элемента выбирается из диалогового окна "Настройки свойств объекта". Этот параметр доступен только для стилей выносных элементов AutoCAD Mechanical toolset.

Соединительная линия

Цвет линии
Задание цвета для линии, соединяющей границу выносного элемента с границей вида выносного элемента. Если нажать "Выбор цвета" (в нижней части списка "Цвет"), откроется диалоговое окно "Выбор цвета". Кроме того, можно ввести имя или номер цвета.
Прим.: При выборе цвета с маркировкой "По ИмениТекущегоСтандартаОформления" цвет соединительной линии выбирается из диалогового окна "Настройки свойств объекта". Этот параметр доступен только для стилей выносных элементов AutoCAD Mechanical toolset.
Тип линий
Задание типа соединительной линии. Если нажать кнопку "Другое", отображается диалоговое окно "Выбор типа линий".
Прим.: При выборе типа линии с маркировкой "По ИмениТекущегоСтандартаОформления" тип соединительной линии выбирается из диалогового окна "Настройки свойств объекта". Этот параметр доступен только для стилей выносных элементов AutoCAD Mechanical toolset.
Вес линий
Задание веса соединительной линии.
Прим.: При выборе типа линии с маркировкой "По ИмениТекущегоСтандартаОформления" вес соединительной линии выбирается из диалогового окна "Настройки свойств объекта". Этот параметр доступен только для стилей выносных элементов AutoCAD Mechanical toolset.

Восстановить значения по умолчанию

Возврат всех значений стандарта оформления и редакции, на которых основывается стиль, к значениям по умолчанию. Эта кнопка отображается только для стилей выносных элементов AutoCAD Mechanical toolset.