「詳圖邊界」頁籤 (「修改詳圖型式」對話方塊 - AutoCAD Mechanical 工具集)

為詳圖的詳圖邊界線、模型邊和連接線設定性質。

選項清單

系統會顯示下列選項。

邊界線

線顏色
設定詳圖邊界線的顏色。如果按一下「選取顏色」(位於「顏色」清單的底部),螢幕上會顯示「選取顏色」對話方塊。您也可以輸入顏色名稱或號碼。
註: 如果您選取標示為「依目前製圖標準的名稱」的顏色,則會從「物件性質設定」對話方塊獲得詳圖邊界線的顏色。此選項僅適用於 AutoCAD Mechanical 工具集 詳圖型式。
線型
設定詳圖邊界線的線型。如果按一下「其他」,螢幕上會顯示「選取線型」對話方塊。
註: 如果您選取標示為「依目前製圖標準的名稱」的線型,則會從「物件性質設定」對話方塊取得線型。此選項僅適用於 AutoCAD Mechanical 工具集 詳圖型式。
線粗
設定詳圖邊界的線粗。
註: 如果您選取標示為「依目前製圖標準的名稱」的線粗,則會從「物件性質設定」對話方塊獲得詳圖邊界線的線粗。此選項僅適用於 AutoCAD Mechanical 工具集 詳圖型式。

模型邊

平滑
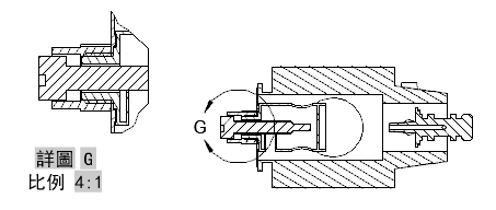
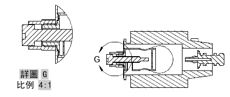
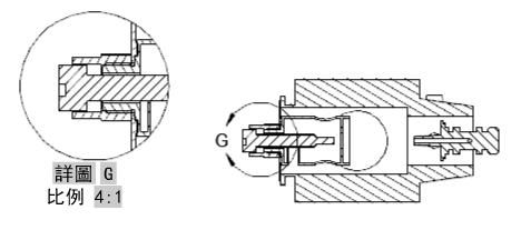
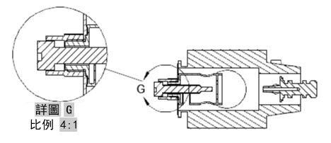
將詳圖中模型上的割面線設為平滑。
套用至模型文件詳圖 套用至 AMDETAIL 詳圖
邊界平滑
在詳圖周圍顯示邊界,並將詳圖中所展示模型上的割面線設為平滑。
套用至模型文件詳圖 套用至 AMDETAIL 詳圖
連接線平滑
在詳圖邊界與對應詳圖邊界之間顯示連接線。此外,還會在詳圖周圍顯示邊界,並將詳圖中所展示模型上的割面線設為平滑。
套用至模型文件詳圖 套用至 AMDETAIL 詳圖
鋸齒狀
將詳圖中模型上的割面線設為鋸齒狀。
套用至模型文件詳圖 套用至 AMDETAIL 詳圖
註: AMDETAIL 詳圖不支援鋸齒狀割面線。選取此選項後,AMDETAIL 圖面視圖的行為會如同已選取「平滑」選項一樣。
線顏色
設定詳圖邊界的顏色。如果按一下「選取顏色」(位於「顏色」清單的底部),螢幕上會顯示「選取顏色」對話方塊。您也可以輸入顏色名稱或號碼。
註: 如果您選取標示為「依目前製圖標準的名稱」的顏色,則會從「物件性質設定」對話方塊獲得詳圖邊界線的顏色。此選項僅適用於 AutoCAD Mechanical 工具集 詳圖型式。
線型
設定詳圖邊界的線型。如果按一下「其他」,螢幕上會顯示「選取線型」對話方塊。
註: 如果您選取標示為「依目前製圖標準的名稱」的線型,則會從「物件性質設定」對話方塊獲得詳圖邊界的線型。此選項僅適用於 AutoCAD Mechanical 工具集 詳圖型式。
線粗
設定詳圖邊界的線粗。
註: 如果您選取標示為「依目前製圖標準的名稱」的線粗,則會從「物件性質設定」對話方塊獲得詳圖邊界的線粗。此選項僅適用於 AutoCAD Mechanical 工具集 詳圖型式。

連接線

線顏色
設定詳圖邊界與對應詳圖邊界之間連接線的顏色。如果按一下「選取顏色」(位於「顏色」清單的底部),螢幕上會顯示「選取顏色」對話方塊。您也可以輸入顏色名稱或號碼。
註: 如果您選取標示為「依目前製圖標準的名稱」的顏色,則會從「物件性質設定」對話方塊獲得連接線的顏色。此選項僅適用於 AutoCAD Mechanical 工具集 詳圖型式。
線型
設定連接線的線型。如果按一下「其他」,螢幕上會顯示「選取線型」對話方塊。
註: 如果您選取標示為「依目前製圖標準的名稱」的線型,則會從「物件性質設定」對話方塊獲得連接線的線型。此選項僅適用於 AutoCAD Mechanical 工具集 詳圖型式。
線粗
設定連接線的線粗。
註: 如果您選取標示為「依目前製圖標準的名稱」的線粗,則會從「物件性質設定」對話方塊獲得連接線的線粗。此選項僅適用於 AutoCAD Mechanical 工具集 詳圖型式。

還原預設

將所有值都返回至型式所依據的製圖標準和修訂的預設值。此按鈕僅對 AutoCAD Mechanical 工具集 詳圖型式可見。