DETAIL (příkaz)

Vytvoří detail části výkresového pohledu dokumentace modelu.

Hledat

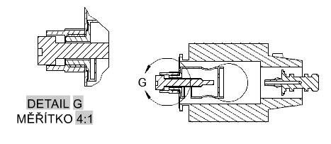
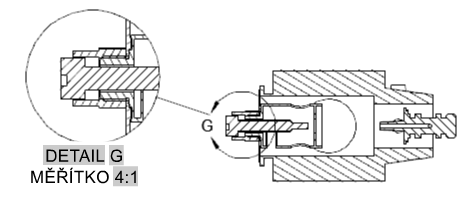
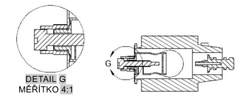
Detail je výkresový pohled, který obsahuje část jiného výkresového pohledu a je zvětšený na větší měřítko. Můžete mít kruhový nebo obdélníkový detailní pohled. Tento příkaz je podporován pouze v rozvržení a vyžaduje výkresový pohled.

Zobrazí se následující výzvy.

Vyberte nadřazený pohled.

Určuje pohled, ze kterého chcete odvodit detail.

Střed

Určuje v nadřazeném pohledu středový bod pro hranici detailu.

Velikost hranice
Určuje velikost hranice detailu. Můžete určit bod nebo zadat polární souřadnici.
Obdélníkové/Kruhové
Určuje tvar hranice detailu.
Zpět
Odstraní vykreslovanou hranici.
Umístění detailu
Určuje umístění detailu.

Reprezentace

Tento panel je viditelný pouze při vytvoření detailního pohledu vytvořeného z modelu aplikace Inventor. Při vytváření detailních pohledů můžete upravit pouze hodnoty pro pohled návrhu.

Skryté čáry

Určuje možnosti zobrazení pro detailní pohled.

Viditelné čáry
Zobrazí detailní pohled jako drátový model se zobrazením pouze viditelných čar.
Viditelné a skryté čáry
Zobrazí detailní pohled jako drátový model se zobrazenými viditelnými a skrytými čárami.
Stínovaný s viditelnými čarami
Zobrazí detailní pohled stínovaně se zobrazením pouze viditelných čar.
Stínovaný s viditelnými a skrytými čarami
Zobrazí detailní pohled stínovaně se zobrazením viditelných a skrytých čar.
Z nadřazeného
Zobrazí detailní pohled s vlastností zděděnou z nadřazeného pohledu.

Změna měřítka

Určuje měřítko detailního pohledu. Implicitně je měřítko detailu je dvojnásobné oproti nadřazenému pohledu nebo další větší hodnota v seznamu Měřítko na panelu Vzhled na pásu karet.

Zadejte měřítko
Zadejte měřítko pro detail.
Z nadřazeného
Určí stejné měřítko, jaké používá nadřazený pohled.

Viditelnost

Určuje možnosti viditelnosti nastavitelné u detailního pohledu. Možnosti viditelnost objektu jsou specifické pro každý model a některé možnosti nemusí být u vybraného modelu a v pohledu vytvořeném z modelu dostupné.

Kolizní hrany

Zapne nebo vypne viditelnost kolizních hran. Kolizní hrany se vyskytují tam, kde se objemová tělesa navzájem protínají. Pokud je viditelnost kolizních hran zapnuta, program v místě dotyku objemových těles nakreslí čáru.

Tečné hrany

Zapne nebo vypne viditelnost tečných hran. Tečné hrany představují přechod mezi plochým povrchem a zaoblenou hranou, nejčastěji se zobrazují jako zaoblené hrany.

  • Tečné hrany zkrácené.Zkrátí délku tečných hran k jejich odlišení od viditelných hran. Toto je dostupné, pouze pokud je vybrána možnost Tečné hrany.
Rozsah ohybu

Zapne nebo vypne viditelnost čar rozsahu ohybu plechu. Čáry rozsahu ohybu plechu označují umístění přechodu, kolem kterého se ohyb otáčí nebo ohýbá, v zobrazení rozvinutého plechu.

Tato možnost je dostupná pouze tehdy, má-li příslušný model definované zobrazení rozvinutého plechu.

Prvky závitu

Zapne nebo vypne viditelnost čar závitu na šroubech a dírách se závitem.

Prezentační trajektorie

Zapne nebo vypne viditelnost prezentačních trajektorií. Prezentační trajektorie jsou čáry v rozloženém pohledu (v prezentačním souboru), které ukazují směr, jímž se komponenty pohybují do sestavené polohy.

Hranice

Určuje typ hranice detailního pohledu.

Kruh
Určuje, že k vytvoření detailního pohledu se používá kruhová hranice. Toto je výchozí typ hranice.

Je-li možnost Odvození vazby zapnuta, střed kruhové hranice detailu je přiřazen k bodu v nadřazeném pohledu. Je-li možnost Odvození vazby vypnuta, střed kruhové hranice detailu není přiřazen k bodu v nadřazeném pohledu.

Obdélník
Určuje, že k vytvoření detailního pohledu se používá obdélníková hranice.

Je-li možnost Odvození vazby zapnuta, roh obdélníkové hranice detailu je přiřazen k bodu v nadřazeném pohledu. Je-li možnost Odvození vazby vypnuta, roh obdélníkové hranice detailu nebude přiřazen k bodu v nadřazeném pohledu.

Poznámka

Identifikátor
Určuje popisek pro hranici detailu a výsledný detailní pohled.

Program vždy z výkresu určí další volný popisek detailu.

Popisek

Určuje, zda se text popisku detailu zobrazí nebo ne.

Hrana modelu

Hladká
Určuje, že čára výřezu na modelu v detailním pohledu detailu je hladká.
Vyhlazení s ohraničením
Určuje, že čára výřezu na modelu v detailním pohledu je hladká a okolo detailního pohledu je nakreslen rámeček.
Vyhlazení s čárou připojení
Určuje, že čára výřezu na modelu v detailním pohledu je hladká, okolo detailního pohledu je nakreslen rámeček a čára připojení připojí detailní pohled k ohraničení detailu v nadřazeném pohledu.
Zoubkovaná
Určuje, že čára výřezu na modelu v detailním pohledu detailu je roztřesená.
Není k dispozici žádné ohraničení pro detailní pohled a není znázorněna čára připojení mezi detailním pohledem a hranicí detailu v nadřazeném pohledu.

Panel Poznámka

Identifikátor

Určuje popisek pro hranici detailu a výsledný detailní pohled.

Zobrazit popisek pohledu

Určuje, zda se zobrazí text popisku detailního pohledu.

Posunutí

Přesune detail, jakmile je umístěn v kreslící ploše, bez nutnosti ukončení příkazu.

Konec

V závislosti na tom, kde v příkazu se možnost objeví, přejde zpět k předchozí výzvě, nebo dokončí příkaz.