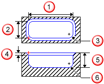
Rechtecktasche

Verwenden Sie das Feature Rechtecktasche, um eine rechteckige Tasche zu erstellen.

- Länge

- Breite

- Eckenradius

— Fase

— Tiefe

— Bodenradius

Anmerkung: Bei Taschen mit einem nicht rechtwinkligen Profil ist die Verwendung des allgemeineren Tasche-Features sinnvoller.

Geben Sie dazu den Taschendurchmesser in die Felder für die Länge und Breite ein und den Taschenradius (die Hälfte des Taschendurchmessers) im Feld Eckenradius ein.