Set Clash Rules

Using ignore clash rules reduce the number of clash results by ignoring certain combinations of clashing items. The Clash Detective tool includes both the default clash rules and clash rule templates that can be used to create custom clash rules.

Default Clash Rules

The following ignore clash rules are built-in:

  • Items in Same Layer - any items found clashing that are in the same layer are not reported in the results. This is useful if, for example, you want to ignore clashes on the same level from a Revit file (2014 or later). Layer or levels are denoted by the icon in the Selection Tree.
  • Items in Same Group/Block/Cell - any items found clashing that are in the same group (or inserted block), such as a block definition from AutoCAD or a cell definition from MicroStation, are not reported in the results. Groups, blocks and cells are denoted by the icon in the Selection Tree.
  • Items in Same File - any items found clashing that are in the same file (either externally referenced or appended) are not reported in the results. If you model contains multiple CAD files, this option enables you to only search for clashes between different files.
  • Items in Same Composite Object - any items found clashing that are part of the same composite object ( a single CAD object represented by a group of geometry items) are not reported in the results. A composite object () is a group of geometry that is considered a single object in the Selection Tree. For example, a window object might be composed of a frame and a pane, or a cavity wall may be made of several layers. This rule ensures that self-intersections in a CAD object are ignored. In this case the window pane and the frame may be modeled so that the parts touch or overlap. This rule would ignore clashes between them.
  • Note: You can choose to include composite objects in Clash results. See Select Tab.
  • Items in Previously Found Pair of Composite Objects - any items found clashing that are part of composite objects that have previously been reported in the test are not reported in the results. For example, when a clash is found between the same pair of composite objects, they will be treated as a single clash, so only once clash is reported. The other is ignored. Whereas 'Ignore Items in same composite object' will ignore clashes between parts of a single object, this will ignore multiple clashes between different composite objects. This is useful for reducing the number of false positives. An example of this would be of a pipe going through a wall. With this option selected the clash would just be counted once, instead of counting the clashes on either side of the wall as separate clashes.
  • Items with Coincident Snap Points - any items found clashing that have snap points that coincide are not reported in the results, for example pipe runs and fittings that have snap points at the end of center lines. Autodesk Navisworks draws a cylinder as a series of triangles to improve performance (try Hidden Line mode to see how they are drawn). Depending on the faceting factor of the cylinder, some of the triangles may clash with each other, even if the pipe or fittings would fit if this was drawn as completely round.

Rule Templates

You can also create your own ignore rules. The following rule templates are available (in addition to the default clash rules):

  • Insulation Thickness - any items found clashing that have the clearance value greater than the specified insulation thickness are not reported in the results. This rule should be used with a Clearance test.

    If you have a pipe requiring a specific thickness of insulation, then you may want to carry out a clearance test on that pipe, setting the clearance tolerance to the required insulation thickness. This would identify any areas where there is not enough clearance around the pipe to install the insulation.

    If you have various pipes, all requiring different thicknesses of insulation then rather than setting up a separate clearance test for each thickness, you can set up one test with the greatest necessary tolerance, that is, assume all pipes require the maximum thickness of insulation. This rule can then be applied to ignore any clashes that are falsely identified, as their actual insulation thickness is less than the maximum clearance used.

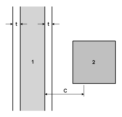
    See the diagram below for an example of where this ignore rule would be applied:

    Pipe 1 has insulation thickness t and C is the maximum clearance (thickest insulation) required anywhere in the current model. Any items (2) that come within the range of t to C will not be reported in the results.

  • Same Property Value - any items found clashing that share a specific property value are not reported in the results. This template can be used when the information is stored on the same property.
  • Same Selection Sets - any items found clashing that are contained within the same Selection Set are not reported in the results.
  • Specified Selection Sets - any items found clashing that are contained within two specified Selection Sets are not reported in the results.
  • Specified Properties with the Same Value - any items found clashing that share the same value, but on two different properties are not reported in the results. This is a new rule template. This rule also enables you to look for the property on any parent object. For example, the gasket at the end of a pipe is registered as a clash with the nozzle of pump. These items should be connected. The gasket itself does not have any property attached directly to it to identify that it should be attached to the nozzle of the pump; however the parent object of the gasket does. If you use this template, the clash test ignores clashes between these two items.

Usage Examples of Clash Rules

The following examples show how it can be useful to combine clash rules:

  • If you are using a cavity wall in your model which is made of several layers; outer leaf, insulation, inner leaf, plasterboard, you can use the Items in Same Composite Object rule to reduce clashes from touching leaves, and the Items in Previously Found Pair of Composite Objects rule to count any clashes with the wall as a single clash rather than four.
  • If you are running a check of a pipe run with fittings you can use the Items with Coincident Snap Points and Items in Previously Found Pair of Composite Objects rules to reduce clashes reported between fixtures and the pipes and within the fixtures.
  • If you are looking to check for major clashes between pipes and structure, use the Items in Same File and Items in Previously Found Pair of Composite Objects rules to avoid looking within a file of the same discipline, and to only report a single clash result wherever one discipline intersects a composite object made of several parts.