You use the same tools and methods to draw piping in elevation views as in plan views. However, because you are viewing the layout from a different perspective, the results are not always what you may expect. Piping drawn in an elevation view is drawn relative to the elevation view plane. When drawing in an elevation view, you should keep a 3D view or plan view visible to see the results of your actions. Here are some things to keep in mind:
The new pipe will connect to the available connector nearest the view plane (in the foreground) for the elevation view. An available connector is one that is not already connected to another connector, and is within the bounds of the elevation view. (The only boundary for an elevation view is the view plane in the foreground.)
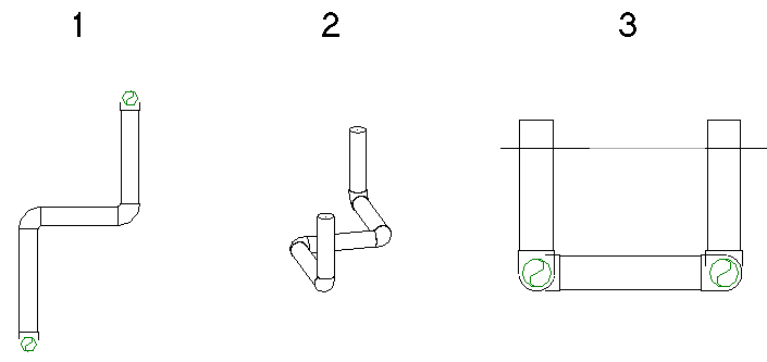
In the following example, both connectors on an existing pipe (1) are available. The horizontal segment added in the elevation view (2) is connected to the connector nearest the view plane, as shown in the plan view (3).

Two connectors within the view range
If there is only one available connector within the view range, that connector will be used. In the following example, the connector nearest the view plane is already used (1). When the new pipe is added in the elevation view (2), it is added at the far end of the existing pipe (3), using the only available connector.

Only one available connector within the view range
If there are no available connectors within the view range, the new pipe is connected with a tee at the intersection of the elevation view plane and the existing pipe. The centerline of the pipe is placed exactly over the view plane.
In the following example, 2 vertical pipe segments are added to a pipe section in an elevation view. The original piping is shown in a plan view (1), in the associated 3D view (2), and in the south elevation view (3).

The resulting vertical segments are shown (from left to right) how they display in the plan view (1), in the associated 3D view (2), and in the south elevation view (3).


In this case, when the pipe is drawn in the south elevation view (1), Revit adds a short pipe segment between the boiler connector and the elbow, as shown in the plan view (2) and 3D view (3).
