Es posible ajustar automáticamente la cotas angulares y lineales paralelas en un dibujo de manera que entre ellas tengan un espaciado o alineación uniforme en la línea de cota.
El comando ACOLINEABASE utiliza la variable de sistema DIMDLI para crear cotas con espaciado uniforme, pero una vez que la cota ya está colocada, el cambio del valor de la variable de sistema no afecta al espaciado de las cotas. Si se cambia el tamaño de texto o se ajusta la escala de las cotas, éstas permanecen en su posición original, lo que puede provocar problemas de superposición de texto y líneas de cota.
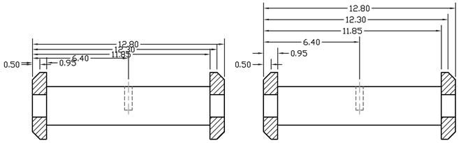
El comando ACOESPAC permite espaciar cotas lineales y angulares que se superponen o que no cuentan con un espaciado uniforme. Las cotas que se seleccionen deben ser lineales o angulares, del mismo tipo (giradas o alineadas), paralelas o concéntricas entre ellas y en las líneas de referencia unas de otras. Las cotas lineales y angulares también se pueden alinear si se utiliza un valor de espaciado de 0.
La siguiente ilustración muestra cotas lineales paralelas sin un espaciado uniforme y, a continuación, con espacio uniforme tras utilizar el comando ACOESPAC.
