Ha módosul a forrás 3D modell, a modelldokumentációs rajznézetek csak frissítés után jelenítik meg a módosításokat.
Ha az Automatikus frissítés be van kapcsolva (a VIEWUPDATEAUTO rendszerváltozó értéke 1), a rajznézetek frissítése automatikus, ha:
Ha az Automatikus frissítés ki van kapcsolva (a VIEWUPDATEAUTO rendszerváltozó értéke 0), a rajznézetek nem frissülnek automatikusan. A frissítést igénylő rajznézeteket vörös jelölőkkel emeli ki a program. Egy értesítőbuborék jelenik meg a rendszertálcán, amely azt tartalmazza, hogy a modell módosult. Ezután közvetlenül kell frissíteni az elavult rajznézeteket.

A forrásmodellen végrehajtott módosítástól függően a rajznézet mérete nőhet vagy csökkenhet. Kétféleképpen horgonyozhatja le a nézeteket a rajzban.

Kiválaszthatja, hogy középre igazítja a nézetet, hogy a nézet a középpontja körül váljon nagyobbá vagy kisebbé.

A „rögzített” opciót is választhatja, amely arra kényszeríti a nem módosított modellgeometriát, hogy megtartsa a frissítési művelet előtti helyét. Gyakran ez az előnyben részesített módszer, mivel így kevésbé tolódik el a rajz.
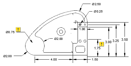
Ha a frissítés során a rendszer eltávolít egy élet, amelyhez egy feliratozás van csatolva, akkor a feliratozás elveszíti az asszociativitását. A feliratozásfigyelő segítségével nyomon követheti azokat a feliratozásokat, amelyek elveszítették asszociativitásukat.
A feliratozásfigyelő egy olyan szolgáltatás, amely a feliratozások állapotát figyeli. Ha egy frissítési esemény miatt egyes feliratozások elveszítik az asszociativitásukat, egy értesítő buborék megjeleníti az érintett feliratozások számát, és a feliratozásfigyelő tálcaikonon
helyett a
jelenik meg. Továbbá a feliratozásfigyelő egy figyelmeztető jelet jelenít meg az érintett feliratozások mellett.

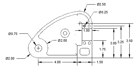
Frissítési esemény előtt

Frissítési esemény után
A figyelmeztető jelre kattintva megjelenik egy menü, amely a megfelelő leválasztott feliratozásra érvényes opciókat tartalmaz. A feliratozásfigyelő kikapcsolása esetén a figyelmeztető jelek eltűnnek.