Részletnézetet hoz létre a modelldokumentációs rajznézetek egy részéből.
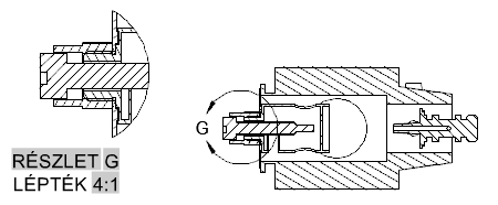
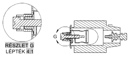
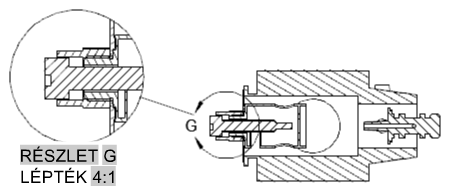
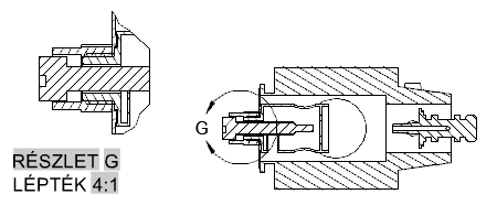
A részletnézet egy olyan rajzolási nézet, amely egy másik rajzolási nézet egy részletét tartalmazza, és nagyobb léptékre van nagyítva. Létrehozható kör alakú és négyszögletes részletnézet is. Ez a parancs csak az elrendezésben támogatott, és szükséges hozzá egy rajzolási nézet.
A következő promptok jelennek meg.
Megad egy nézetet, amelyből származtatni lehet a részletnézetet.
Meghatározza a szülő középpontját a részletnézet határvonalához.
Ez a panel csak akkor látható, ha egy Inventor modellből hozott létre részletnézetet. Részletnézetek létrehozásakor csak a tervezői nézet értékeit szerkesztheti.
Megadja a részletnézethez használandó megjelenítési beállításokat.

Megadja a részletnézet léptékét. Alapértelmezés szerint a részletnézet léptéke a szülő nézet kétszerese, vagy a szalag Megjelenés paneljének Léptéklistáján található következő nagyobb érték.
A részletnézethez megadható láthatósági beállításokat határozza meg. Az objektumláthatósági beállítások modellspecifikusak, és elképzelhető, hogy az opciók közül néhány nem érhető el a kiválasztott modellben, valamint az abból létrehozott nézetben.
Be- vagy kikapcsolja az áthatási élek láthatóságát. Áthatási élek akkor keletkeznek, amikor egy vagy több szilárdtest metszi egymást. Ha az Áthatási élek láthatósága be van kapcsolva, a program egy vonalat rajzol ott, ahol a szilárdtestek találkoznak.
Be- vagy kikapcsolja az érintő élek láthatóságát. Az érintő élek egy sík felület és egy ívelt él között az átmenetet jelölik, és leggyakrabban lekerekített élekként jelennek meg.
Be- vagy kikapcsolja a lemezhajlítási vonalak kiterjedésének láthatóságát. Ezek a vonalak ábrázolják a lemez kiterített nézetében, hogy hol kell a lemezt meghajlítani.
Ez a lehetőség csak akkor áll rendelkezésre, ha a kapcsolódó modellhez simított lemezalkatrész nézet van meghatározva.
Be- vagy kikapcsolja a menetvonalak láthatóságát a csavarokon és menetes furatokon.
Be- vagy kikapcsolja a bemutatók kimozgatásainak láthatóságát. A bemutató kimozgatásai szétvetett nézetekben lévő vonalak (bemutatófájlban), amelyek jelzik, milyen irányban kell összeilleszteni az egyes alkotóelemeket.
Meghatározza a részletnézet határvonalának típusát.
Ha a megállapított kényszer be van kapcsolva, a körkörös részlet határvonal közepe a szülő nézeten lévő egyik ponttal van társítva. Ha a megállapított kényszer ki van kapcsolva, a körkörös részlet határvonal közepe nincs társítva a szülő nézeten lévő ponttal.
Ha a megállapított kényszer be van kapcsolva, a négyszögletű részlet határvonal sarka a szülő nézeten lévő egyik ponttal van társítva. Ha a megállapított kényszer ki van kapcsolva, a négyszögletű részlet határvonal széle nincs társítva a szülő nézeten lévő ponttal.
A program minden esetben meghatározza a rajz alapján a következő szabad részletcímkét.
Meghatározza, hogy megjelenik-e a részlet nézet címkeszövege.




Meghatározza a részlethatár címkéjét és az eredményül kapott részlet nézetet.
Meghatározza, hogy megjelenik-e a részlet nézet címkeszövege.
Mozgatja a részletnézetet, miután elhelyezte azt a rajzterületen, anélkül, hogy ki kellene lépnie a parancsból.
Visszaugrik az előző promptra vagy befejezi a parancsot attól függően, hol jelenik meg a parancsciklusban az opció.