長方形ポケット
長方形ポケット
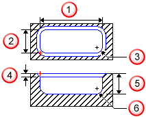
フィーチャーを使用して、長方形ポケットを作成します。
- 長さ
- 幅
- コーナー半径
- 面取り
- 深さ
- 底部半径
注:
長方形ではないカーブからポケットを作成する場合は、
ポケット
フィーチャーを使用します。
ポケットの
長さ
、
幅
、
コーナー半径
を入力します。
このセクションの内容
長方形ポケット フィーチャーを作成
長方形ポケットの加工手順
長方形ポケット - 工具選択
長方形ポケット - 送りと回転数
長方形ポケット - 荒加工
長方形ポケット - 仕上げ
親トピック:
2.5D フライス加工フィーチャー